ВЫХЛОПНОЙ КОЛЛЕКТОР И ВЫХЛОПНОЙ КОЛЕНЧАТЫЙ ПАТРУБОК (7.4L BRAVO) — 1996-1997 [0F800700 THRU 0K999999] — купить в Victory Marine
ВЫХЛОПНОЙ КОЛЛЕКТОР И ВЫХЛОПНОЙ КОЛЕНЧАТЫЙ ПАТРУБОК (7.4L BRAVO)
3
4
5
8
16
17
18

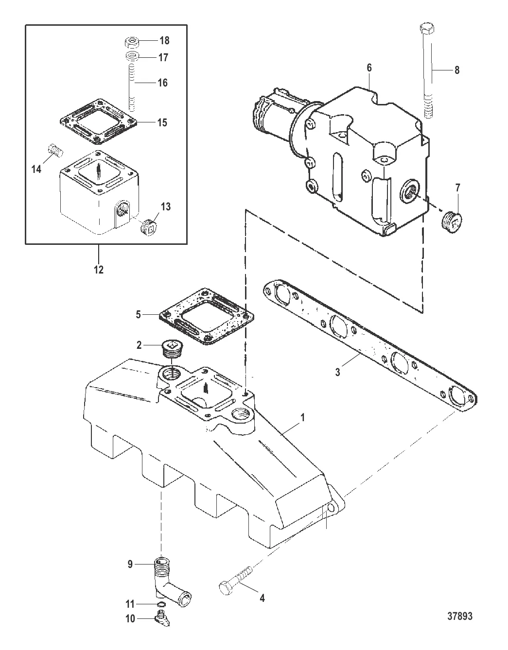
ВЫХЛОПНОЙ КОЛЛЕКТОР И ВЫХЛОПНОЙ КОЛЕНЧАТЫЙ ПАТРУБОК (7.4L BRAVO)

1 . Выхлопной коллектор Mercruiser 7.4 / 8.1 / 8.2L 807078T10

807078T09 → 807078A6 → 807078A4 → 807078A2 → 89011A8 → 807078T10

106 551 ₽

7 500 ₽

248 ₽

2 100 ₽

48 655 ₽

1 160 ₽

2 361 ₽

3 920 ₽

1 200 ₽

238 ₽

88 462 ₽

116 320 ₽

13 . ПРОБКА Труба (0.750-14) Mercury 416223

41622 → 33198A1 → 33198 → 416223

335 ₽

1 000 ₽

2 200 ₽

1 710 ₽

238 ₽

283 ₽

571 ₽

Полезные статьи

Все статьи →
Связаться с нами