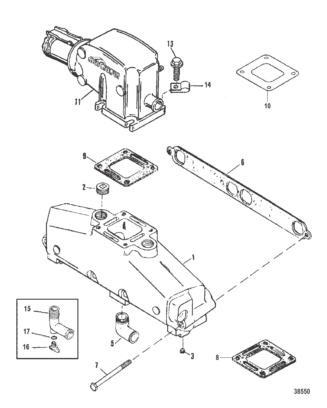
ВЫХЛОПНОЙ КОЛЛЕКТОР И ВЫХЛ. КОЛЕНЧАТЫЙ ПАТРУБОК (ВЫХЛ. КОЛЕНЧ. ПАТРУБОК ИЗ НЕРЖАВЕЮЩЕЙ СТАЛИ) — 1988-1995 [0B773740 THRU 0F600999] - Cat.# 90-816596 — купить в Victory Marine

ВЫХЛОПНОЙ КОЛЛЕКТОР И ВЫХЛ. КОЛЕНЧАТЫЙ ПАТРУБОК (ВЫХЛ. КОЛЕНЧ. ПАТРУБОК ИЗ НЕРЖАВЕЮЩЕЙ СТАЛИ)

2 200 ₽

10 . ПРОКЛАДКА Mercury 8637251

863725 → 860231 → 41811 → 87918 → 87918A1 → 8637251

2 273 ₽

Полезные статьи

Все статьи →
Связаться с нами