ВЫХЛОПНОЙ КОЛЛЕКТОР — D3.6L W (BRAVO) (ЭКСПОРТ) VM 219 I/L6 — купить в Victory Marine
ВЫХЛОПНОЙ КОЛЛЕКТОР
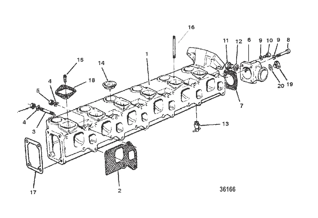
1
2
3
5
6
7
8
9
10
11
12
13
14
15
16
17
18
19
20

ВЫХЛОПНОЙ КОЛЛЕКТОР

Уточняйте

2 207 ₽

379 ₽

336 ₽

397 ₽

3 . ШПИЛЬКА Mercury 898101517

809909067 → 898101517

84 ₽

4 . СТОПОРНАЯ ШАЙБА Mercury 811460

811451 → 809932095 → 809932081 → 811460

23 ₽

46 ₽

Уточняйте

275 ₽

Уточняйте

9 . ШАЙБА Mercury 879194114

811450 → 809932062 → 809932071 → 879194114

9 ₽

10 . ВИНТ Mercury 879194156

809919926 → 896332042 → 879194156

12 ₽

537 ₽

12 . ШАЙБА Mercury 809963354

801763384 → 801333432 → 801333861 → 809963354

193 ₽

2 306 ₽

1 561 ₽

184 ₽

250 ₽

Уточняйте

468 ₽

19 . ПРОБКА Mercury 809919114

898272058 → 809919114

818 ₽

20 . ШАЙБА Mercury 889153

809963201 → 801765058 → 889153

109 ₽

Полезные статьи

Все статьи →
Связаться с нами