Вторичный охладитель — [88060001 THRU 88070000] — купить в Victory Marine
Вторичный охладитель
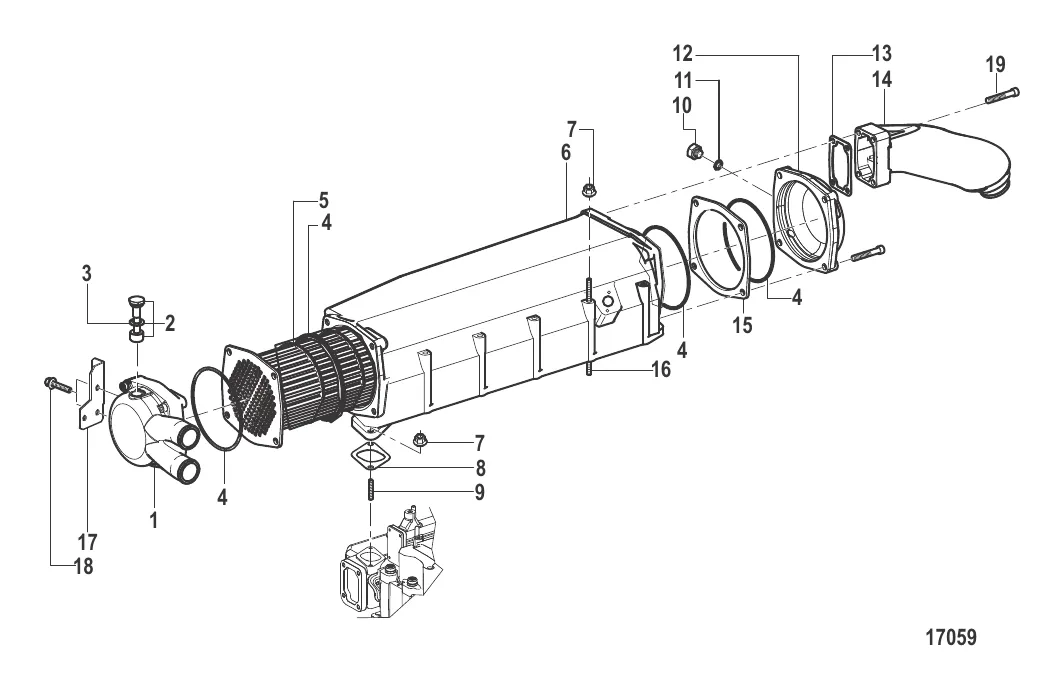
1
2
3
4
5
7
8
9
10
11
12
13
14
15
16
17
18
19

Вторичный охладитель

121 193 ₽

Уточняйте

394 ₽

2 570 ₽

496 124 ₽

511 396 ₽

46 ₽

468 ₽

386 ₽

1 072 ₽

11 . ШАЙБА Mercury 881791

809963072 → 809963073 → 881791

109 ₽

53 322 ₽

2 241 ₽

87 950 ₽

37 233 ₽

250 ₽

Уточняйте

18 . ВИНТ Mercury 898101554

879286 → 898101554

67 ₽

19 . винт Mercury 898101531

898272023 → 898101531

67 ₽

Полезные статьи

Все статьи →
Гайды и подбор

Ловля голавля на спиннинг — микроколебалки, воблеры, техника и сезоны

Ловля голавля на спиннинг: микроколебалки, воблеры, техника проводки и лучшие сезоны.

2 мин.
Обслуживание и ремонт

Вибрация лодочного мотора — причины, диагностика и устранение

Вибрация лодочного мотора может быть вызвана десятком причин — от повреждённого винта до износа подвески. Разбираем каждую причину, объясняем, как диагностировать, и рассказываем, что можно исправить самому, а с чем ехать в сервис.

1 мин.
Обслуживание и ремонт

Электросхема лодочного мотора Mercury: популярные модели

Подробный разбор электросхем лодочных моторов Mercury — от простых 9.9/15 двухтактных до мощных 150-200 четырёхтактных. Цветовая маркировка проводов, система зажигания, зарядки и запуска. Диагностика мультиметром, типичные неисправности и когда пора к электрику.

3 мин.
Связаться с нами