ВПРЫСКИВАНИЕ МАСЛА (С/Н USA-0G301750/BEL-9885504 И НИЖЕ) — [0D283222 THRU 0G760299] - USA — купить в Victory Marine
ВПРЫСКИВАНИЕ МАСЛА (С/Н USA-0G301750/BEL-9885504 И НИЖЕ)
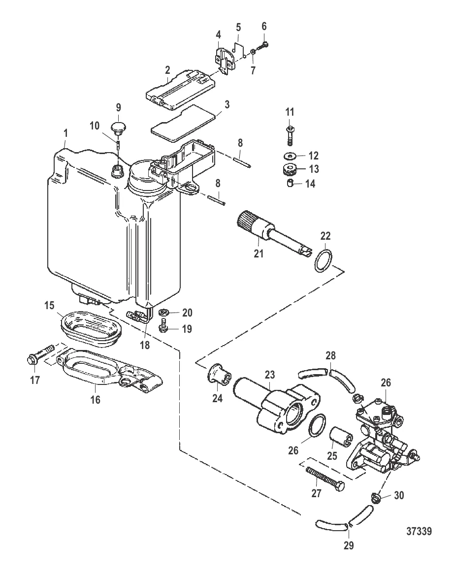
1
2
3
4
5
6
7
8
9
10
13
14
15
18
19
21
22
23
24
25
26
27
30

ВПРЫСКИВАНИЕ МАСЛА (С/Н USA-0G301750/BEL-9885504 И НИЖЕ)

1 . TANK KIT-OIL Mercury 892845A04

828361A3 → 821901A1 → 892845A04

14 918 ₽

3 413 ₽

1 116 ₽

Уточняйте

Уточняйте

Уточняйте

124 ₽

Уточняйте

Уточняйте

1 504 ₽

1 383 ₽

862 ₽

46 ₽

568 ₽

359 ₽

Уточняйте

Уточняйте

Уточняйте

5 008 ₽

131 ₽

176 ₽

Уточняйте

22 . Кольцо 62705

F748342 → 62705

44 ₽

8 679 ₽

950 ₽

385 ₽

49 612 ₽

291 ₽

1 324 ₽

29 . ТРУБОПРОВОД (Общая длина 25.00") Mercury 82381455

82381451 → 82381436 → 4301736 → 4301715 → 42544 → 82381455

2 521 ₽

22 ₽

45 ₽

Полезные статьи

Все статьи →
Связаться с нами