Воздушный охладитель — [88030001 THRU 88030344] — купить в Victory Marine
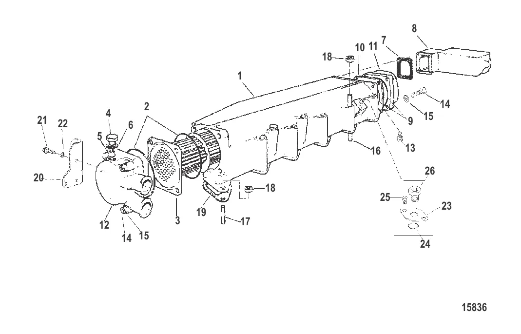
Воздушный охладитель
1
3
4
5
6
7
8
9
10
11
12
13
14
16
17
18
19
20
21
22
23
24
25
26

Воздушный охладитель

716 082 ₽

708 536 ₽

Уточняйте

Уточняйте

394 ₽

538 ₽

Уточняйте

4 781 ₽

37 233 ₽

74 040 ₽

69 843 ₽

1 072 ₽

14 . ВИНТ Mercury 879172086

809724 → 879172086

65 ₽

15 . СТОПОРНАЯ ШАЙБА Mercury 811460

811451 → 809932095 → 809932081 → 811460

23 ₽

250 ₽

386 ₽

46 ₽

468 ₽

Уточняйте

21 . ВИНТ Mercury 898101555

854118001 → 854118 → 809913644 → 898101555

65 ₽

22 . ШАЙБА Mercury 879194141

811384 → 879194141

27 ₽

31 148 ₽

273 ₽

39 ₽

257 ₽

Полезные статьи

Все статьи →
Связаться с нами