Популярные города
Товаров не найдено, но мы можем привезти под заказ
Нет аккаунта?
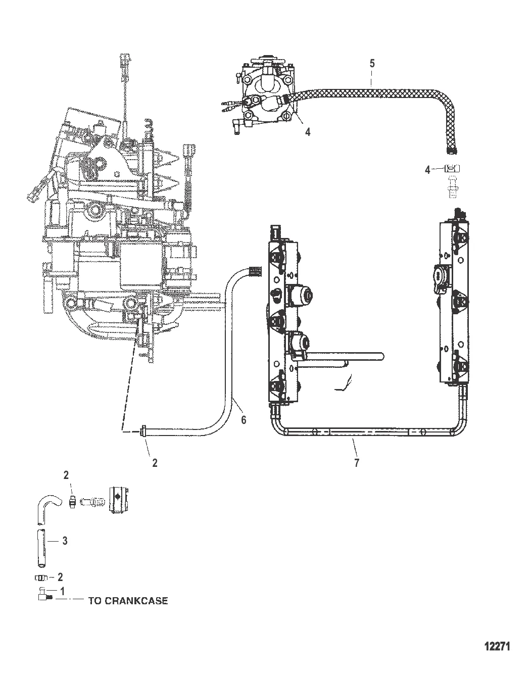
КОЛЕНЧАТЫЙ Mercury 856842
856842
Хомут 816311T
816311T
шланг Mercury 8M0064783
858800 → 8M0064783
ЗАЖИМ Шланг (15.3) Mercury 856880
856880
ШЛАНГ В СБОРЕ Mercury 8567631
8567631
РУКАВ Mercury 804828
804828
ШЛАНГ В СБОРЕ Mercury 804829
889313 → 804829
7 660 ₽
45 ₽
4 454 ₽
196 ₽
13 884 ₽
17 025 ₽
35 271 ₽
Разбираемся, какой мотор нужен для выхода на глиссер на ПВХ-лодке. Таблицы мощности по весу, реальные скорости, правильная развесовка и типичные ошибки новичков.
Подробная инструкция по ремонту редуктора (lower unit) лодочного мотора Mercury: диагностика, снятие, замена сальников, шестерён и подшипников, сборка. Конкретные артикулы запчастей и сравнение стоимости самостоятельного ремонта с сервисом.
Разбираем где ставить только оригинал Mercury, а где качественный аналог работает не хуже. Конкретные примеры с ценами — свечи, импеллеры, масло, фильтры.
Контакты
+7 800 555-65-49
Бесплатно по России — нажмите, чтобы позвонить
Написать нам
Перезвоните мне
Оставьте номер — наш эксперт перезвонит и подберёт нужные запчасти
Нажимая кнопку, вы соглашаетесь на обработку персональных данных
Наш эксперт свяжется с вами в ближайшее время
Скидка будет применена к вашему заказу