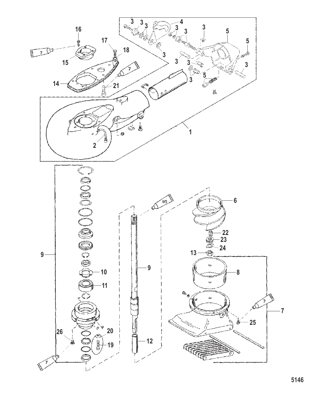
Водометный насос в сборе
407 011 ₽
14 837 ₽
40 872 ₽
11 559 ₽
78 974 ₽
76 350 ₽
195 150 ₽
34 408 ₽
236 445 ₽
5 615 ₽
29 085 ₽
4 505 ₽
5 379 ₽
68 013 ₽
31 882 ₽
239 ₽
299 ₽
300 ₽
1 470 ₽
118 ₽
4 109 ₽
3 637 ₽
1 215 ₽
1 445 ₽
260 ₽
297 ₽
407 011 ₽
14 837 ₽
40 872 ₽
11 559 ₽
78 974 ₽
76 350 ₽
195 150 ₽
34 408 ₽
236 445 ₽
5 615 ₽
29 085 ₽
4 505 ₽
5 379 ₽
68 013 ₽
31 882 ₽
239 ₽
299 ₽
300 ₽
1 470 ₽
118 ₽
4 109 ₽
3 637 ₽
1 215 ₽
1 445 ₽
260 ₽
297 ₽
Оставьте номер — наш эксперт перезвонит и подберёт нужные запчасти
Нажимая кнопку, вы соглашаетесь на обработку персональных данных
Наш эксперт свяжется с вами в ближайшее время
Скидка будет применена к вашему заказу