Популярные города
Товаров не найдено, но мы можем привезти под заказ
Нет аккаунта?
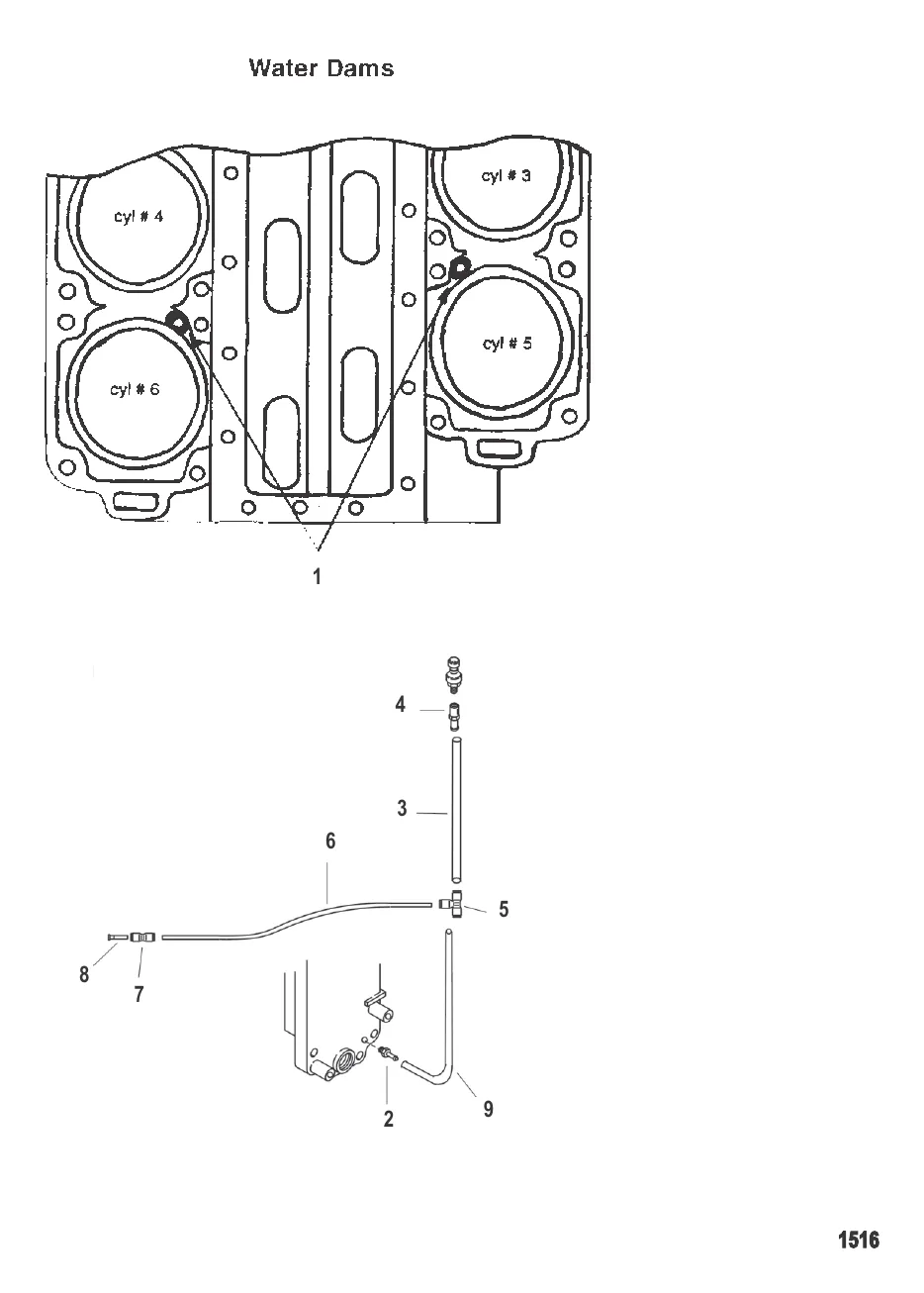
РУКАВ (Общая длина 57") Mercury 8M0108355
8M0047428 → 8M0108355
ФИТИНГ Mercury 881866
859432 → 881866
ФИТИНГ Mercury 892403
859431 → 892403
ТРОЙНИК Фитинг Mercury 875207
875207
МУФТА Mercury 859747
859747
ПРОБКА Mercury 859732
859732
ТРУБОПРОВОД (Общая длина 52.00") Mercury 85978571
85978568 → 85978571
8 732 ₽
868 ₽
Уточняйте
1 567 ₽
786 ₽
236 ₽
7 685 ₽
Всё о моторном масле для четырёхтактных лодочных моторов: вязкость 10W-30 и 10W-40, сертификация FC-W, лучшие марки — Quicksilver, Yamalube, Motul. Интервалы замены и типичные ошибки.
Выбираем одноместную лодку для рыбалки: вес до 15-20 кг, размер 240-280 см, типы дна, совместимость с мотором, топовые модели с ценами и советы по выбору.
15 проверенных доработок лодки ПВХ своими руками: усиление дна, мягкие сиденья, держатели удилищ, якорная система, подсветка и другие полезные идеи с ценами и инструкциями.
Контакты
+7 800 555-65-49
Бесплатно по России — нажмите, чтобы позвонить
Написать нам
Перезвоните мне
Оставьте номер — наш эксперт перезвонит и подберёт нужные запчасти
Нажимая кнопку, вы соглашаетесь на обработку персональных данных
Наш эксперт свяжется с вами в ближайшее время
Скидка будет применена к вашему заказу