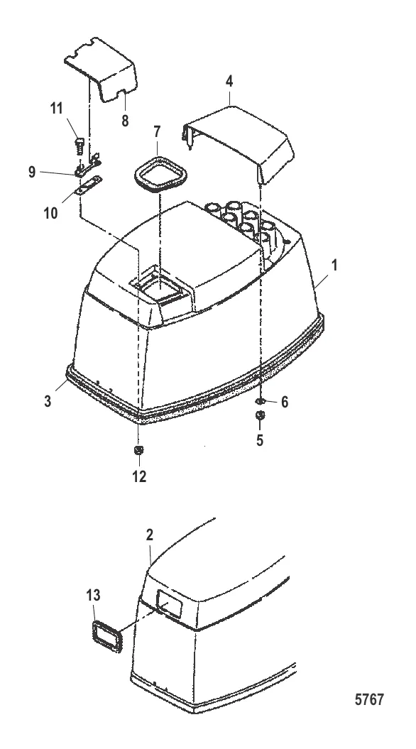
Верхний кожух
142 340 ₽
177 233 ₽
139 292 ₽
2 677 ₽
8 861 ₽
Уточняйте
12 887 ₽
8 423 ₽
284 ₽
563 ₽
5 422 ₽
4 698 ₽
506 ₽
1 827 ₽
205 ₽
257 ₽
1 159 ₽
142 340 ₽
177 233 ₽
139 292 ₽
2 677 ₽
8 861 ₽
Уточняйте
12 887 ₽
8 423 ₽
284 ₽
563 ₽
5 422 ₽
4 698 ₽
506 ₽
1 827 ₽
205 ₽
257 ₽
1 159 ₽
Оставьте номер — наш эксперт перезвонит и подберёт нужные запчасти
Нажимая кнопку, вы соглашаетесь на обработку персональных данных
Наш эксперт свяжется с вами в ближайшее время
Скидка будет применена к вашему заказу