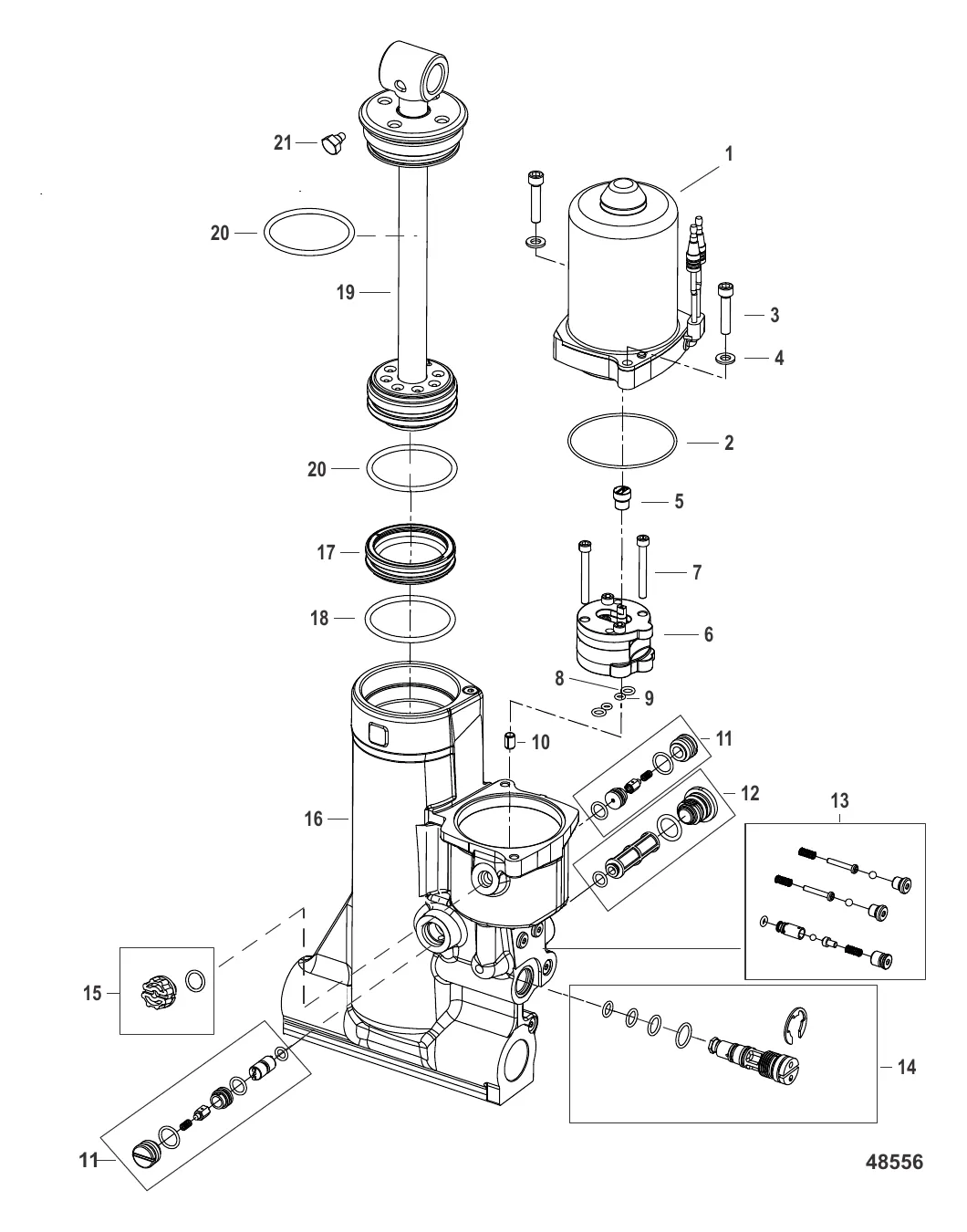
Усилитель дифферента в сборе Компоненты
75 733 ₽
347 ₽
225 ₽
5 068 ₽
74 905 ₽
4 172 ₽
33 531 ₽
16 044 ₽
3 500 ₽
16 499 ₽
91 783 ₽
Уточняйте
1 439 ₽
75 733 ₽
347 ₽
225 ₽
5 068 ₽
74 905 ₽
4 172 ₽
33 531 ₽
16 044 ₽
3 500 ₽
16 499 ₽
91 783 ₽
Уточняйте
1 439 ₽
Оставьте номер — наш эксперт перезвонит и подберёт нужные запчасти
Нажимая кнопку, вы соглашаетесь на обработку персональных данных
Наш эксперт свяжется с вами в ближайшее время
Скидка будет применена к вашему заказу