Усилитель дифферента — [903X90A & Up] - USA — купить в Victory Marine
Усилитель дифферента
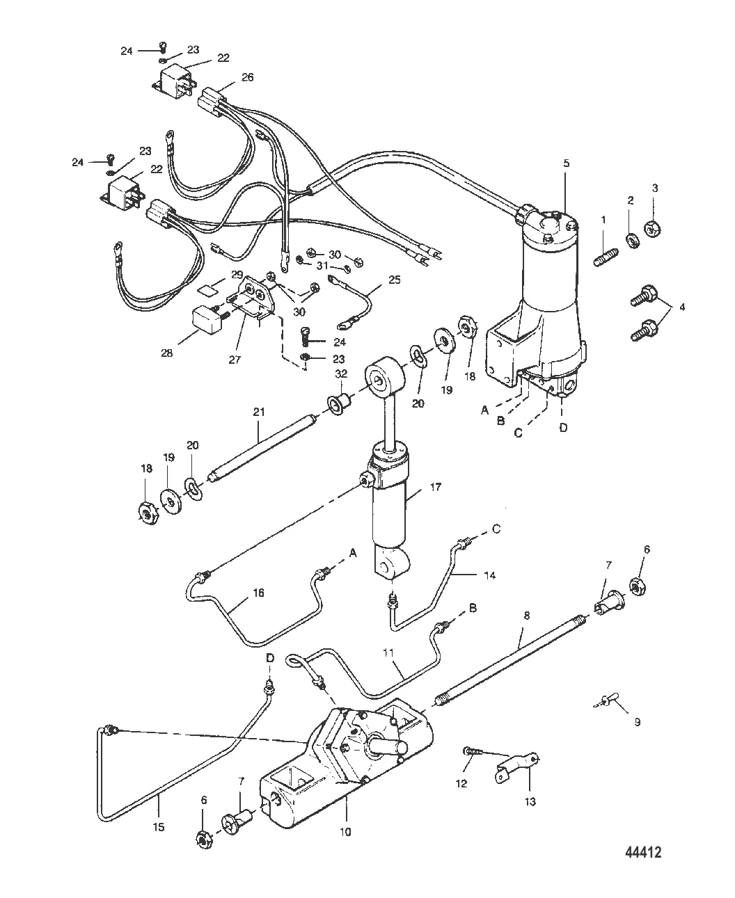
1
2
3
5
6
7
8
9
10
11
12
13
14
15
16
17
19
20
21
22
23
24
25
26
27
28
29
30
31
32

Усилитель дифферента

Уточняйте

223 ₽

3 . ГАЙКА (0.312-18) Mercury 68292

F1349 → F1330 → 68292

197 ₽

339 ₽

Уточняйте

1 759 ₽

7 . ВТУЛКА Mercury F449362

F178362 → F449362

865 ₽

Уточняйте

Уточняйте

Уточняйте

4 213 ₽

Уточняйте

Уточняйте

3 987 ₽

4 551 ₽

3 448 ₽

17 . ЦИЛИНДР В СБОРЕ Mercury 819365A2

FS654381 → F17527 → 819365A2

Уточняйте

1 376 ₽

Уточняйте

Уточняйте

7 970 ₽

22 . реле Mercury 803632T

F660917 → 803632T

Уточняйте

228 ₽

Уточняйте

361 ₽

Уточняйте

Уточняйте

1 690 ₽

118 ₽

30 . Гайка 68219

20645 → 33252 → 68219

72 ₽

31 . Шайба 26996

20040 → 26996

140 ₽

Уточняйте

Полезные статьи

Все статьи →
Связаться с нами