ТРАНСМИССИЯ И СВЯЗАННЫЕ ДЕТАЛИ (BORG WARNER 72) — 7.4L MIE MPI (LH) GEN. VI GM 454 V-8 — купить в Victory Marine
ТРАНСМИССИЯ И СВЯЗАННЫЕ ДЕТАЛИ (BORG WARNER 72)
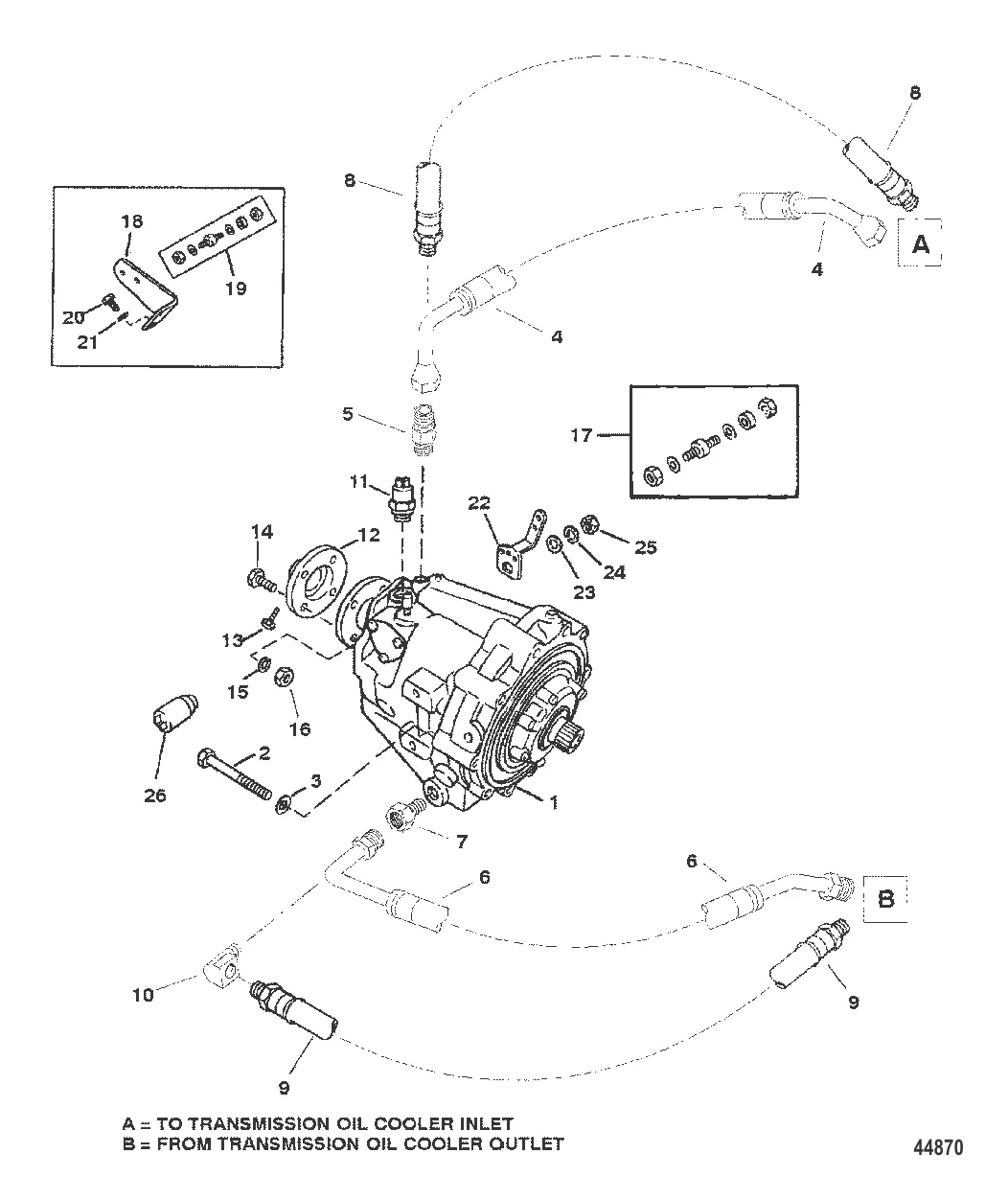
1
2
4
6
8
9
10
11
12
13
14
15
16
18
19
20
22
23
24
25
26

ТРАНСМИССИЯ И СВЯЗАННЫЕ ДЕТАЛИ (BORG WARNER 72)

382 926 ₽

563 ₽

8 107 ₽

2 251 ₽

8 773 ₽

9 718 ₽

22 068 ₽

2 258 ₽

17 093 ₽

41 071 ₽

Уточняйте

39 369 ₽

37 361 ₽

Уточняйте

39 663 ₽

21 986 ₽

1 441 ₽

1 110 ₽

14 . ВИНТ (0.437-20 x 1.500) Mercury 805159

52498 → F2326 → 817419 → 805159

627 ₽

171 ₽

313 ₽

12 652 ₽

5 644 ₽

77 ₽

109 ₽

5 619 ₽

792 ₽

134 ₽

300 ₽

44 930 ₽

Полезные статьи

Все статьи →
Связаться с нами