Топливопроводы/выпускные трубы (Серийный номер 0T408999 и ниже) — [0G960500 THRU 0T800999] - USA — купить в Victory Marine
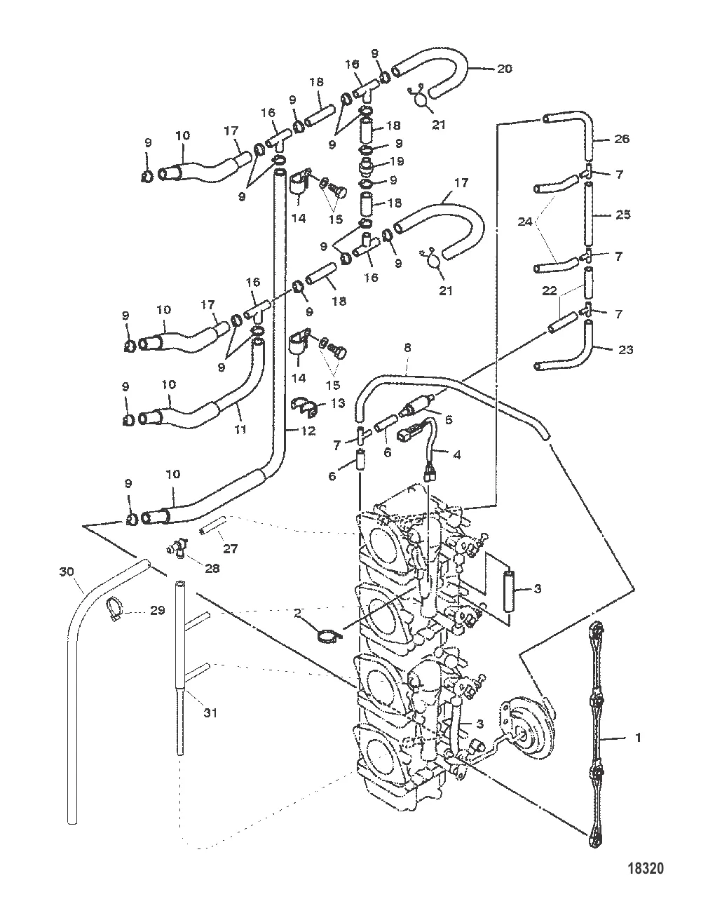
Топливопроводы/выпускные трубы (Серийный номер 0T408999 и ниже)
1
4
5
7
9
10
12
13
14
15
16
19
21
26
28
29

Топливопроводы/выпускные трубы (Серийный номер 0T408999 и ниже)

3 348 ₽

5 113 ₽

2 299 ₽

390 ₽

9 . ЗАЖИМ Mercury 98974M

84656M → 98974M

156 ₽

401 ₽

12 . РУКАВ Mercury 804236

80422920 → 804236

908 ₽

199 ₽

14 . ЗАЖИМ Mercury 8556961

855696 → 8556961

469 ₽

Уточняйте

628 ₽

131 ₽

453 ₽

26 . РУКАВ Mercury 804229

80422910 → 804229

705 ₽

4 690 ₽

282 ₽

45 ₽

10 719 ₽

3 725 ₽

Полезные статьи

Все статьи →
Связаться с нами