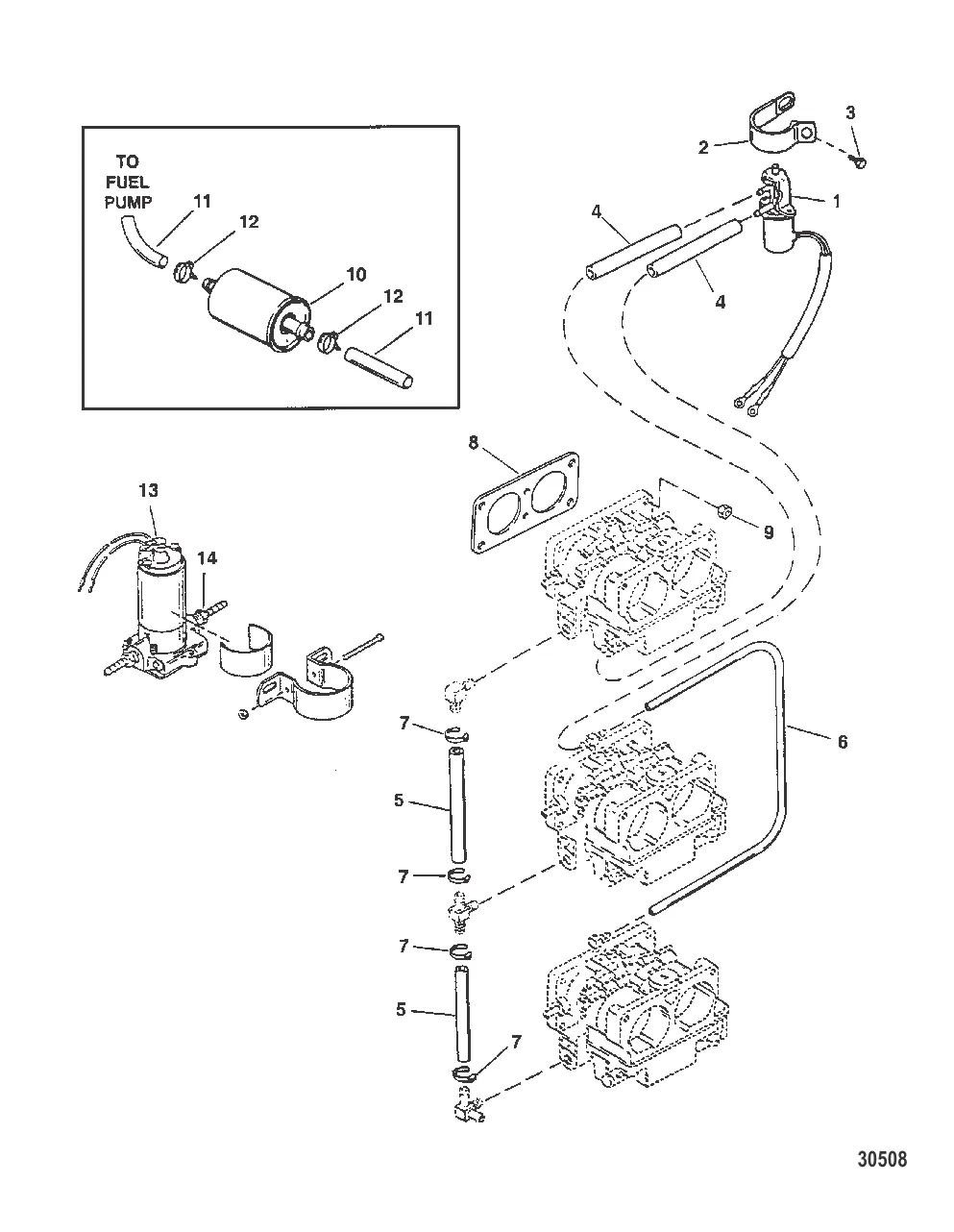
ТОПЛИВОПРОВОДЫ И ТОПЛИВНЫЙ НАСОС
31 729 ₽
977 ₽
228 ₽
4 690 ₽
10 777 ₽
6 600 ₽
45 ₽
241 ₽
140 ₽
13 472 ₽
17 009 ₽
459 ₽
498 ₽
94 621 ₽
1 677 ₽
31 729 ₽
977 ₽
228 ₽
4 690 ₽
10 777 ₽
6 600 ₽
45 ₽
241 ₽
140 ₽
13 472 ₽
17 009 ₽
459 ₽
498 ₽
94 621 ₽
1 677 ₽
Оставьте номер — наш эксперт перезвонит и подберёт нужные запчасти
Нажимая кнопку, вы соглашаетесь на обработку персональных данных
Наш эксперт свяжется с вами в ближайшее время
Скидка будет применена к вашему заказу