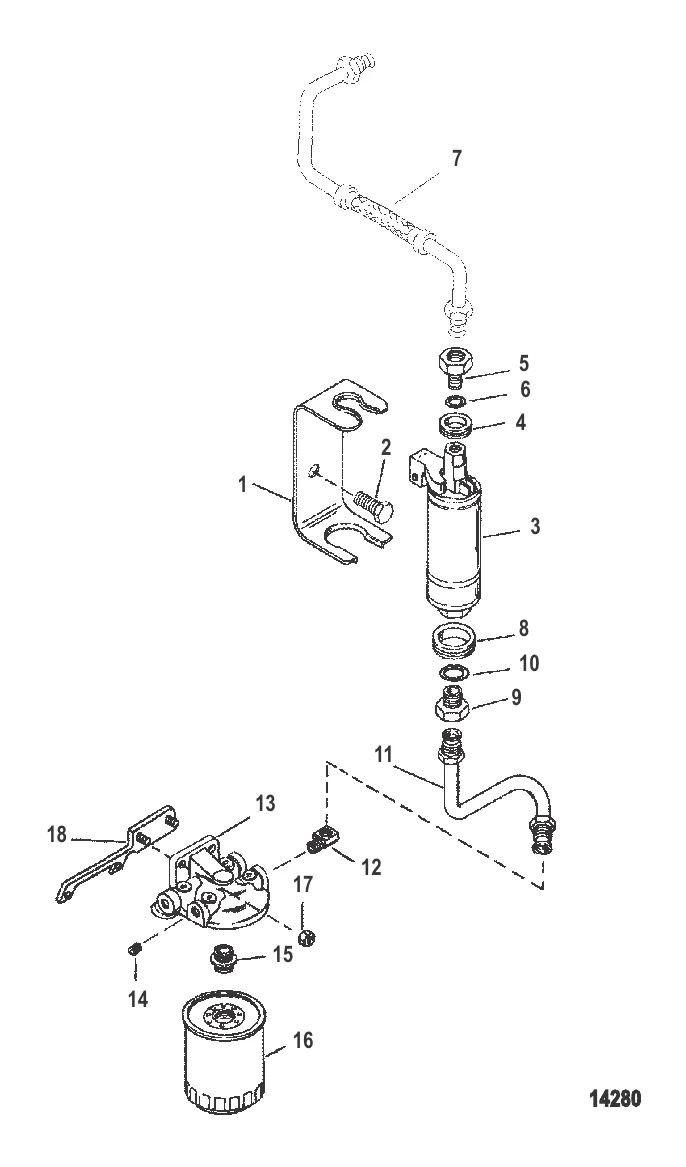
ТОПЛИВНЫЙ НАСОС И ТОПЛИВНЫЙ ФИЛЬТР — 1996 [0F601127 THRU 0F802999] — купить в Victory Marine
ТОПЛИВНЫЙ НАСОС И ТОПЛИВНЫЙ ФИЛЬТР
1
2
6
7
10
11
12
14
15
17
18

ТОПЛИВНЫЙ НАСОС И ТОПЛИВНЫЙ ФИЛЬТР

3 138 ₽

84 ₽

3 . топливный насос-ELEC Mercury 861155A6

861155A5 → 805656A6 → 805656A5 → 805656A2 → 805025A2 → 861155A6

118 550 ₽

560 ₽

1 849 ₽

Уточняйте

8 015 ₽

9 213 ₽

1 698 ₽

523 ₽

3 768 ₽

1 696 ₽

7 900 ₽

14 . Заглушка 32561

48340 → 60667 → 64759 → 32561

438 ₽

2 036 ₽

16 . 802893Q01 Фильтр топливный MerCruiser (QUICKSILVER)

802893Q → 807172 → 806771 → 8052691 → 604941 → 60494A5 → 57250 → 55501 → 52456 → 802893Q01

2 700 ₽

607 ₽

Уточняйте

Полезные статьи

Все статьи →
Связаться с нами