Топливный насос и топливный фильтр — [0D082000 THRU 0G303045] - USA — купить в Victory Marine
Топливный насос и топливный фильтр
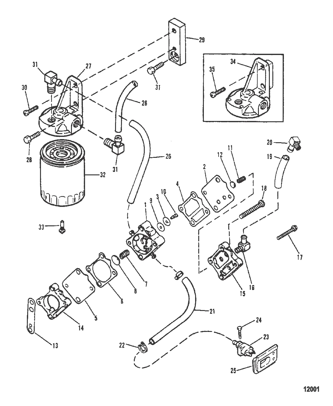
12
13
14
15
17
18
22
25
29
30
31
33
34
35

Топливный насос и топливный фильтр

20 000 ₽

2 . Комплект диафрагм 857005A1

42990A10 → 42990A7 → 42990A4 → 42990A1 → 857005A1

4 375 ₽

Уточняйте

70 ₽

14 . БАЗА Mercury 144303

144301 → 144303

2 993 ₽

3 959 ₽

291 ₽

452 ₽

298 ₽

10 719 ₽

45 ₽

3 218 ₽

Уточняйте

7 781 ₽

198 ₽

Уточняйте

431 ₽

8 059 ₽

3 272 ₽

4 165 ₽

34 . БАЗА Mercury 13170A3

13170A1 → 13170A3

24 989 ₽

277 ₽

Полезные статьи

Все статьи →
Гайды и подбор

Как выбрать лодочный мотор: полный гайд по мощности, типу и бренду

Разбираемся, как подобрать лодочный мотор под конкретную лодку и задачи. Двухтактный или четырёхтактный, сколько лошадей нужно, какой бренд выбрать — опыт 15 лет работы с моторами Mercury, Tohatsu, Yamaha и Suzuki.

2 мин.
Гайды и подбор

Гидрокрыло на лодочный мотор: нужно ли оно и как установить

Разбираемся, когда гидрокрыло реально помогает выйти на глисс, а когда это лишняя трата денег. Тест на Mercury 9.9 + Ривьера 340, обзор моделей SE Sport и StingRay, пошаговая установка.

1 мин.
Обслуживание и ремонт

Топливная система лодочного мотора: устройство, обслуживание, неисправности

Разбираем топливную систему лодочного мотора от бака до форсунки: фильтры, шланги, сепараторы, груша подкачки. Артикулы расходников Mercury, борьба с водой и старым бензином.

1 мин.
Связаться с нами