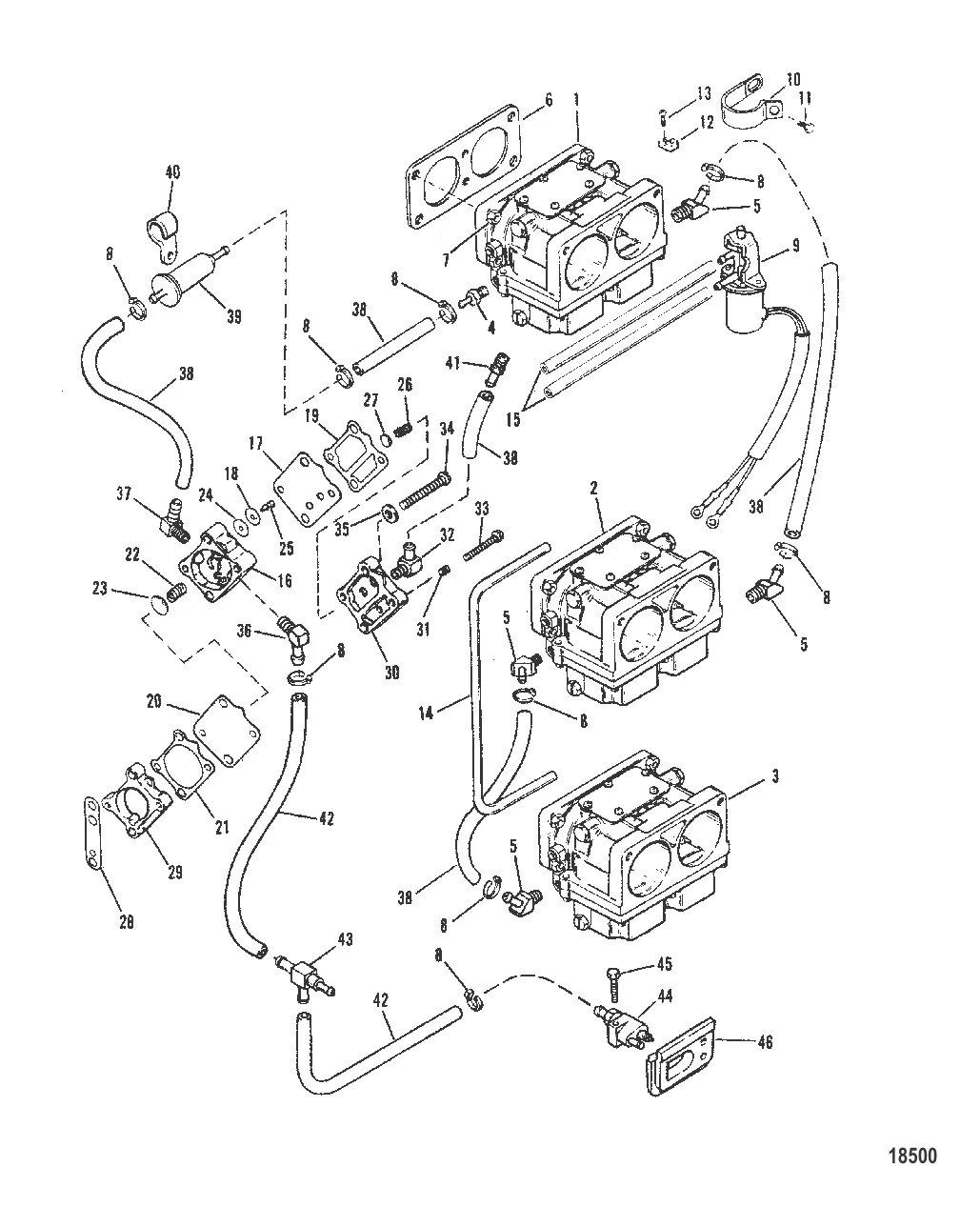
ТОПЛИВНЫЙ НАСОС И КАРБЮРАТОР — [0C100861 THRU 0C239552] - USA - Cat.# 90-814116 — купить в Victory Marine
ТОПЛИВНЫЙ НАСОС И КАРБЮРАТОР
1
2
3
4
5
6
7
8
10
12
13
14
16
27
28
29
30
31
33
34
35
36
37
40
41
43
45
46

ТОПЛИВНЫЙ НАСОС И КАРБЮРАТОР

37 714 ₽

36 266 ₽

36 264 ₽

Уточняйте

3 985 ₽

248 ₽

Уточняйте

45 ₽

31 729 ₽

977 ₽

228 ₽

323 ₽

Уточняйте

6 600 ₽

4 690 ₽

23 843 ₽

17 . Комплект диафрагм 857005A1

42990A10 → 42990A7 → 42990A4 → 42990A1 → 857005A1

4 375 ₽

Уточняйте

70 ₽

29 . БАЗА Mercury 144303

144301 → 144303

2 993 ₽

3 959 ₽

4 109 ₽

491 ₽

127 ₽

318 ₽

3 011 ₽

Уточняйте

8 732 ₽

Уточняйте

557 ₽

1 440 ₽

10 719 ₽

9 342 ₽

3 218 ₽

431 ₽

Уточняйте

Полезные статьи

Все статьи →
Связаться с нами