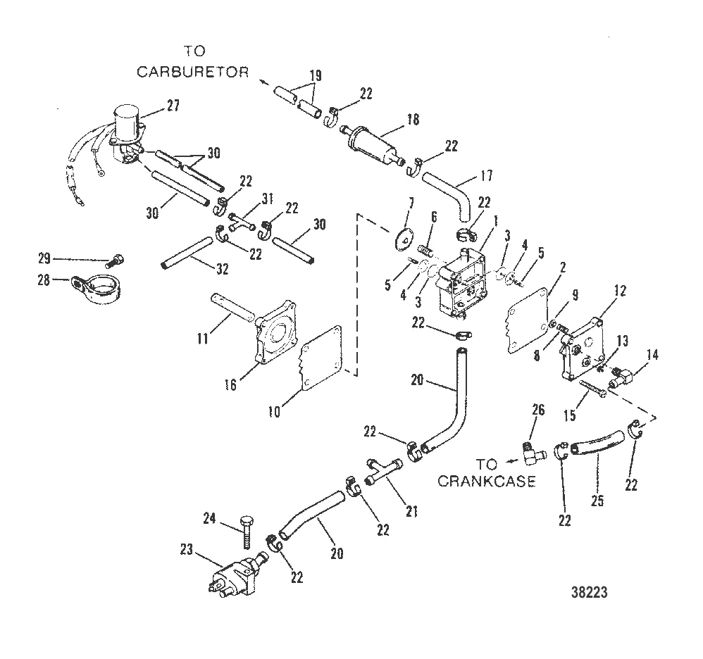
18
ТОПЛИВНЫЙ НАСОС (БЕЛЫЙ ИЛИ КРАСНЫЙ)
20 000 ₽
4 375 ₽
Уточняйте
70 ₽
Уточняйте
4 109 ₽
Уточняйте
Уточняйте
291 ₽
2 993 ₽
368 ₽
18
18 . Универсальный топливный фильтр, используемый с топливопроводом внутр. диам. 5/16" (7.9 мм) 816296Q2
816296B2 → 816296B1 → 816296Q2
1 210 ₽
795 ₽
10 719 ₽
Уточняйте
45 ₽
5 529 ₽
254 ₽
8 732 ₽
Уточняйте
28 171 ₽
977 ₽
272 ₽
4 268 ₽
851 ₽
6 600 ₽