ТОПЛИВНЫЙ НАСОС (БЕЛЫЙ ИЛИ КРАСНЫЙ) — [9683055 THRU 9885344] - Belgium — купить в Victory Marine
ТОПЛИВНЫЙ НАСОС (БЕЛЫЙ ИЛИ КРАСНЫЙ)
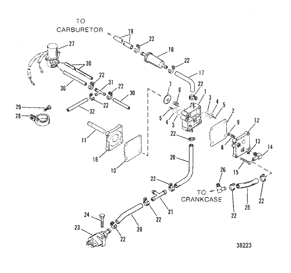
1
10
11
12
13
14
15
16
17
19
21
22
23
24
26
28
29
30
31
32

ТОПЛИВНЫЙ НАСОС (БЕЛЫЙ ИЛИ КРАСНЫЙ)

20 000 ₽

2 . Комплект диафрагм 857005A1

42990A10 → 42990A7 → 42990A4 → 42990A1 → 857005A1

4 375 ₽

Уточняйте

70 ₽

Уточняйте

4 109 ₽

Уточняйте

Уточняйте

291 ₽

16 . БАЗА Mercury 144303

144301 → 144303

2 993 ₽

17 . РУКАВ Mercury 830767

816865 → 830767

368 ₽

795 ₽

10 719 ₽

Уточняйте

45 ₽

5 529 ₽

254 ₽

8 732 ₽

Уточняйте

28 171 ₽

977 ₽

29 . ВИНТ (M6 x 16) Mercury 4006731

4010616 → 40011127 → 4006731

272 ₽

4 268 ₽

851 ₽

6 600 ₽

Полезные статьи

Все статьи →
Связаться с нами