17
ТОПЛИВНЫЙ НАСОС
19 796 ₽
70 ₽
Уточняйте
3 959 ₽
291 ₽
452 ₽
2 993 ₽
17
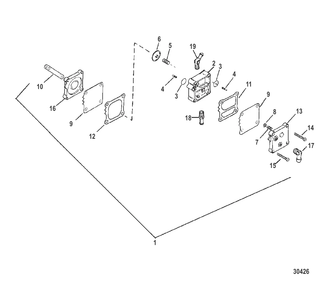
17 . ФИТИНГ Коленчатый патрубок, 90 градусов (0.125-27 x 0.250), нейлон Mercury 996642
996641 → 99664 → 25885 → 996642
298 ₽
1 302 ₽
952 ₽