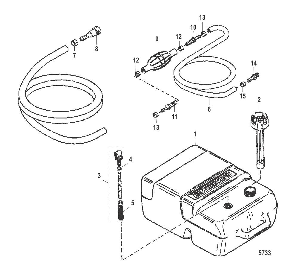
ТОПЛИВНЫЙ БАК И ТОПЛИВОПРОВОД В СБОРЕ (6.6 ГАЛЛ.)
6 179 ₽
3 525 ₽
5 027 ₽
854 ₽
2 007 ₽
1 956 ₽
12 761 ₽
2 867 ₽
1 252 ₽
1 587 ₽
1 637 ₽
105 ₽
1 292 ₽
Уточняйте
6 179 ₽
3 525 ₽
5 027 ₽
854 ₽
2 007 ₽
1 956 ₽
12 761 ₽
2 867 ₽
1 252 ₽
1 587 ₽
1 637 ₽
105 ₽
1 292 ₽
Уточняйте
Оставьте номер — наш эксперт перезвонит и подберёт нужные запчасти
Нажимая кнопку, вы соглашаетесь на обработку персональных данных
Наш эксперт свяжется с вами в ближайшее время
Скидка будет применена к вашему заказу