Тяга механизма переключения передач — [0R131842 & Up] — купить в Victory Marine
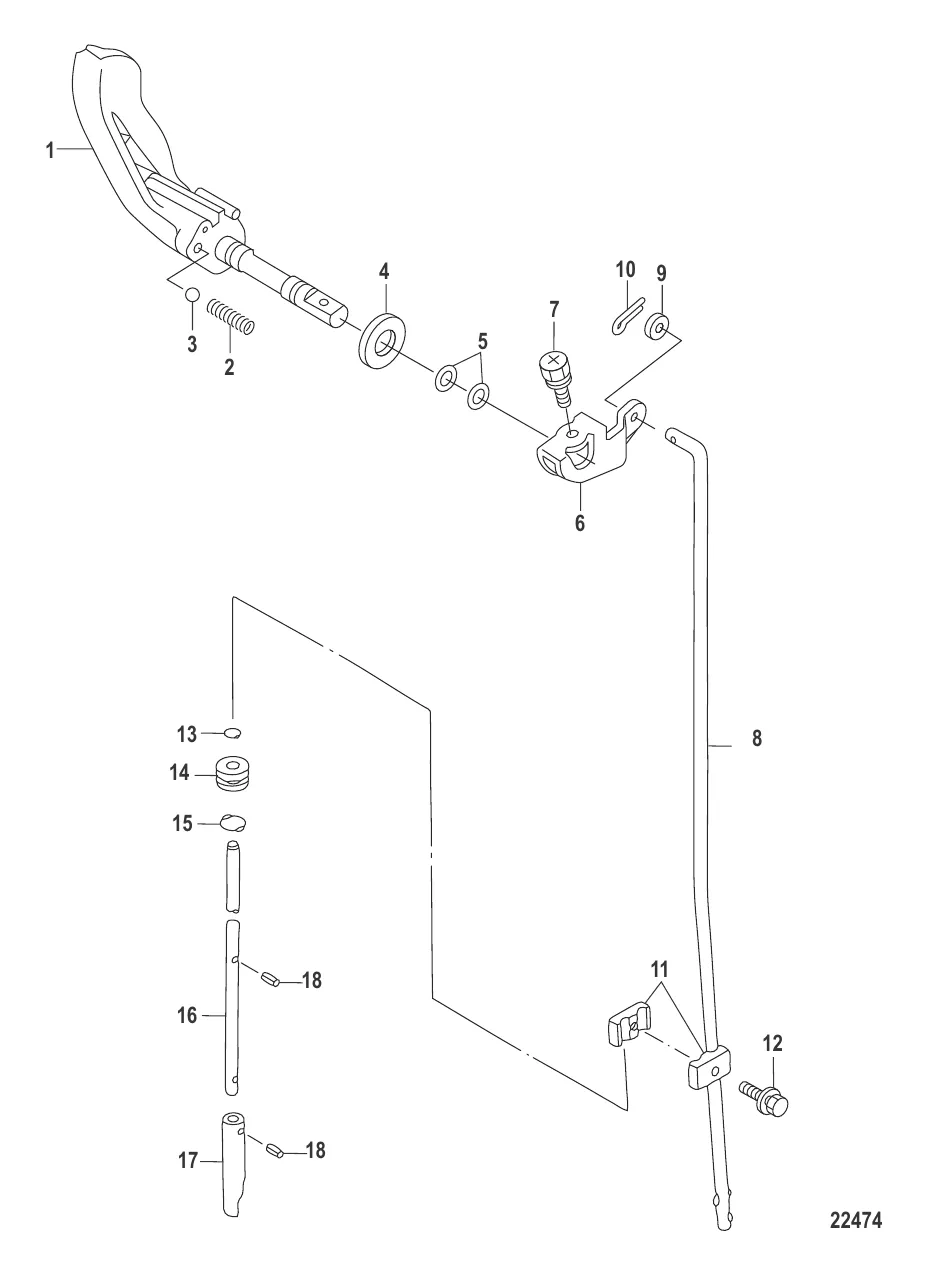
Тяга механизма переключения передач
1
2
3
4
5
7
8
10
11
12
13
14
15
16
17
18

Тяга механизма переключения передач

12 083 ₽

2 . Пружина 813028

16183 → 813028

269 ₽

455 ₽

136 ₽

147 ₽

572 ₽

7 . ВИНТ Mercury 898101354

953962 → 898101354

180 ₽

7 167 ₽

133 ₽

157 ₽

874 ₽

12 . Болт 8248324

82304213 → 804368 → 8248324

194 ₽

13 . Кольцо 161771

16177 → 161771

147 ₽

309 ₽

147 ₽

2 044 ₽

1 138 ₽

2 961 ₽

136 ₽

Полезные статьи

Все статьи →
Связаться с нами