Шумопоглотитель в сборе — 1993 [0E023150 THRU 0E033710] — купить в Victory Marine
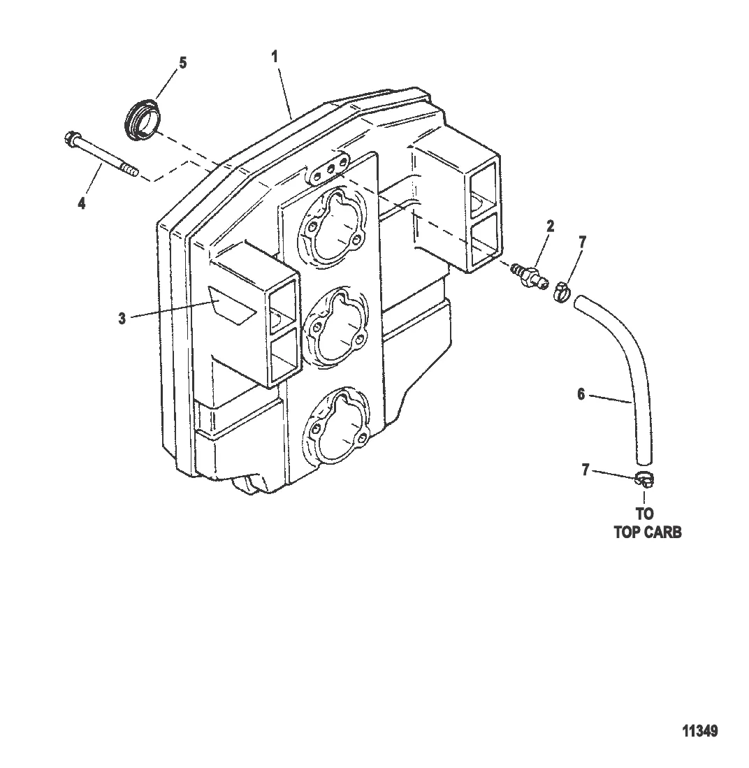
Шумопоглотитель в сборе
1
2
3
4
5
7

Шумопоглотитель в сборе

Уточняйте

Уточняйте

183 ₽

1 462 ₽

261 ₽

4 792 ₽

28 ₽

Полезные статьи

Все статьи →
Связаться с нами