Стартер в сборе — [0E000001 THRU 0E093699] - USA — купить в Victory Marine
Стартер в сборе
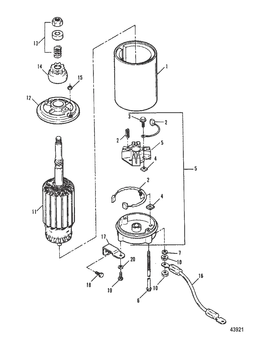
1
2
3
4
5
6
7
10
11
12
13
14
15
16
17
19

Стартер в сборе

1 . стартер Mercury 898265002

819085T1 → 898265002

38 924 ₽

5 454 ₽

243 ₽

358 ₽

13 990 ₽

1 686 ₽

7 . шайба Mercury 804700

F15160 → 804700

22 ₽

10 . ГАЙКА Mercury F15162

F15072 → F15162

89 ₽

29 363 ₽

3 924 ₽

8 758 ₽

14 . DRIVE-PINION Mercury 802587T01

802587T → 802587T01

7 602 ₽

15 . Гайка 8267089

20361 → 98451 → 8267089

140 ₽

1 071 ₽

702 ₽

594 ₽

109 ₽

Полезные статьи

Все статьи →
Связаться с нами