Starter Motor (12 Inch) — 1987-1995 [0B514627 THRU 0F775199] - Cat.# 90-17740 — купить в Victory Marine
Starter Motor (12 Inch)
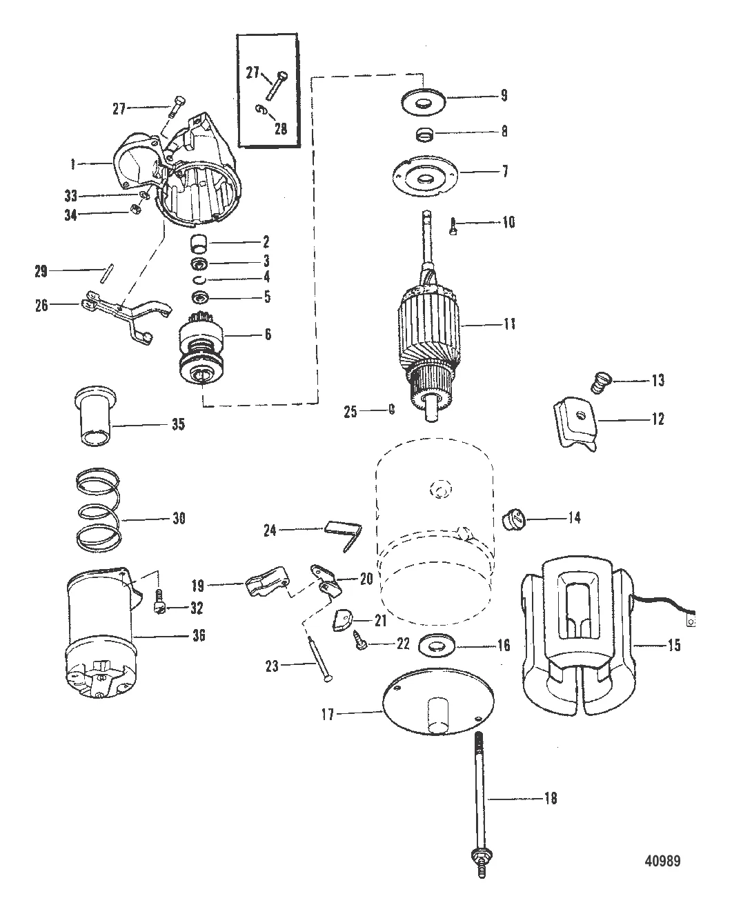
1
2
3
4
5
6
7
8
9
10
11
14
15
16
17
19
20
21
23
24
26
29
30
32
33
34
35

Starter Motor (12 Inch)

Уточняйте

Уточняйте

Уточняйте

Уточняйте

Уточняйте

110 ₽

250 ₽

Уточняйте

6 . DRIVE ASSY Mercury 79205T

79205 → 33318 → 79205T

Уточняйте

Уточняйте

Уточняйте

Уточняйте

Уточняйте

Уточняйте

Уточняйте

Уточняйте

Уточняйте

Уточняйте

Уточняйте

Уточняйте

17 . РАМА Mercury 79211

33295 → 79211

Уточняйте

Уточняйте

Уточняйте

890 ₽

23 . ОПОРА Mercury 33294

60686 → 33281 → 33294

Уточняйте

255 ₽

Уточняйте

Уточняйте

Уточняйте

Уточняйте

Уточняйте

Уточняйте

270 ₽

Уточняйте

13 010 ₽

Уточняйте

Полезные статьи

Все статьи →
Связаться с нами