Стартер и генератор — 1990-1994 [0C856559 THRU 0F353099] - Cat.# 90-81632390 — купить в Victory Marine
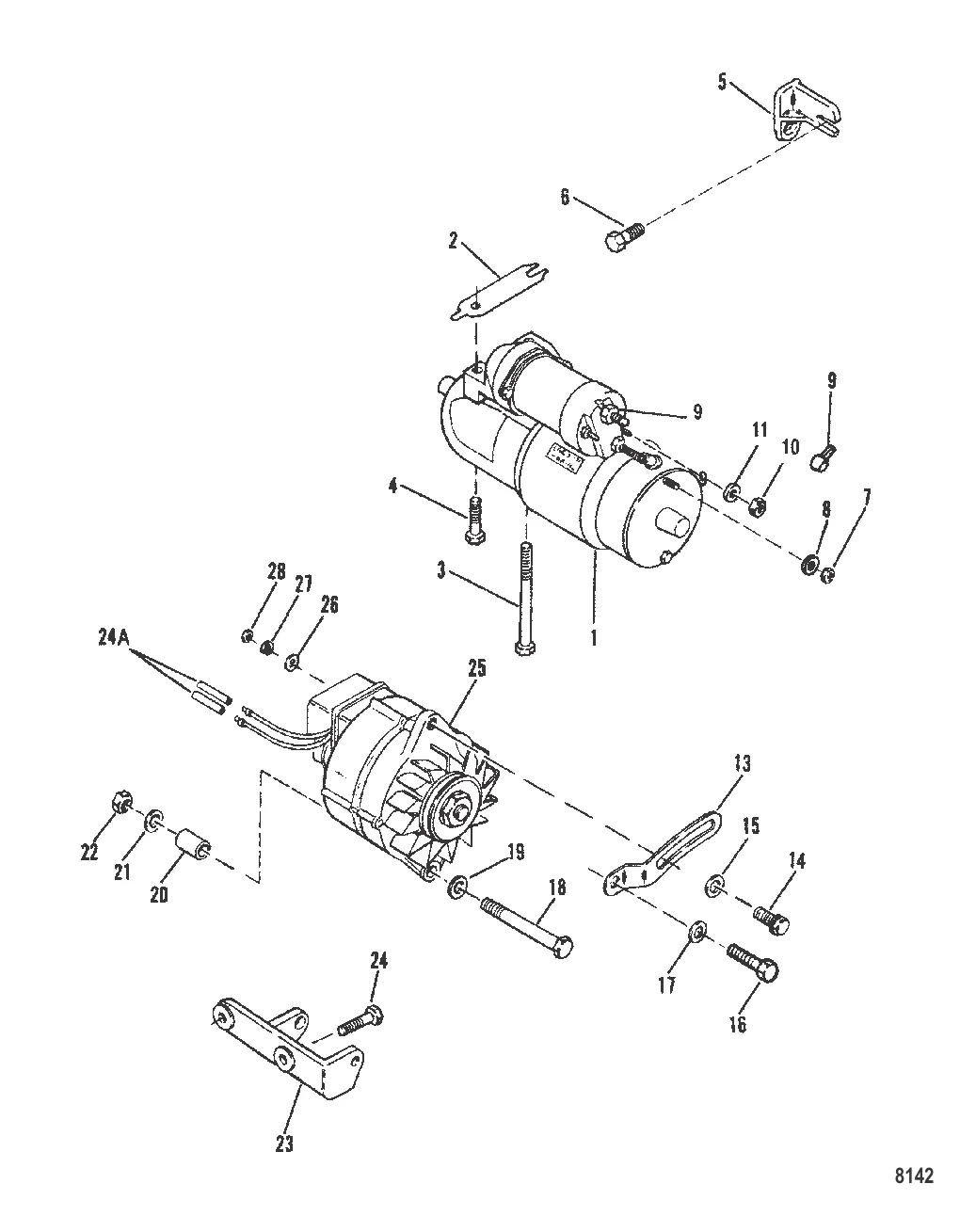
Стартер и генератор
2
3
4
5
7
8
9
11
13
14
15
16
18
19
20
21
22
23
24
25
26
27
28

Стартер и генератор

1 . STARTER MOTOR ASSEMBLY 8M0090697

806965A4 → 806965A2 → 806963A4 → 806963A2 → 812429A2 → 8M0090697

54 085 ₽

536 ₽

Уточняйте

2 990 ₽

3 . винт Mercury 94435001

94435 → 94435001

2 602 ₽

2 168 ₽

1 167 ₽

3 324 ₽

224 ₽

Уточняйте

314 ₽

415 ₽

313 ₽

11 . Шайба 26996

20040 → 26996

140 ₽

5 990 ₽

566 ₽

229 ₽

152 ₽

3 270 ₽

260 ₽

180 ₽

171 ₽

269 ₽

23 . КРОНШТЕЙН Mercury 16738A1

63857A2 → 63857A1 → 56778 → 16738A1

15 128 ₽

238 ₽

1 286 ₽

58 826 ₽

221 ₽

86 ₽

113 ₽

28 . ГАЙКА (0.250-20) Mercury 64015

F1341 → F15051 → 64015

266 ₽

291 ₽

201 ₽

Полезные статьи

Все статьи →
Связаться с нами