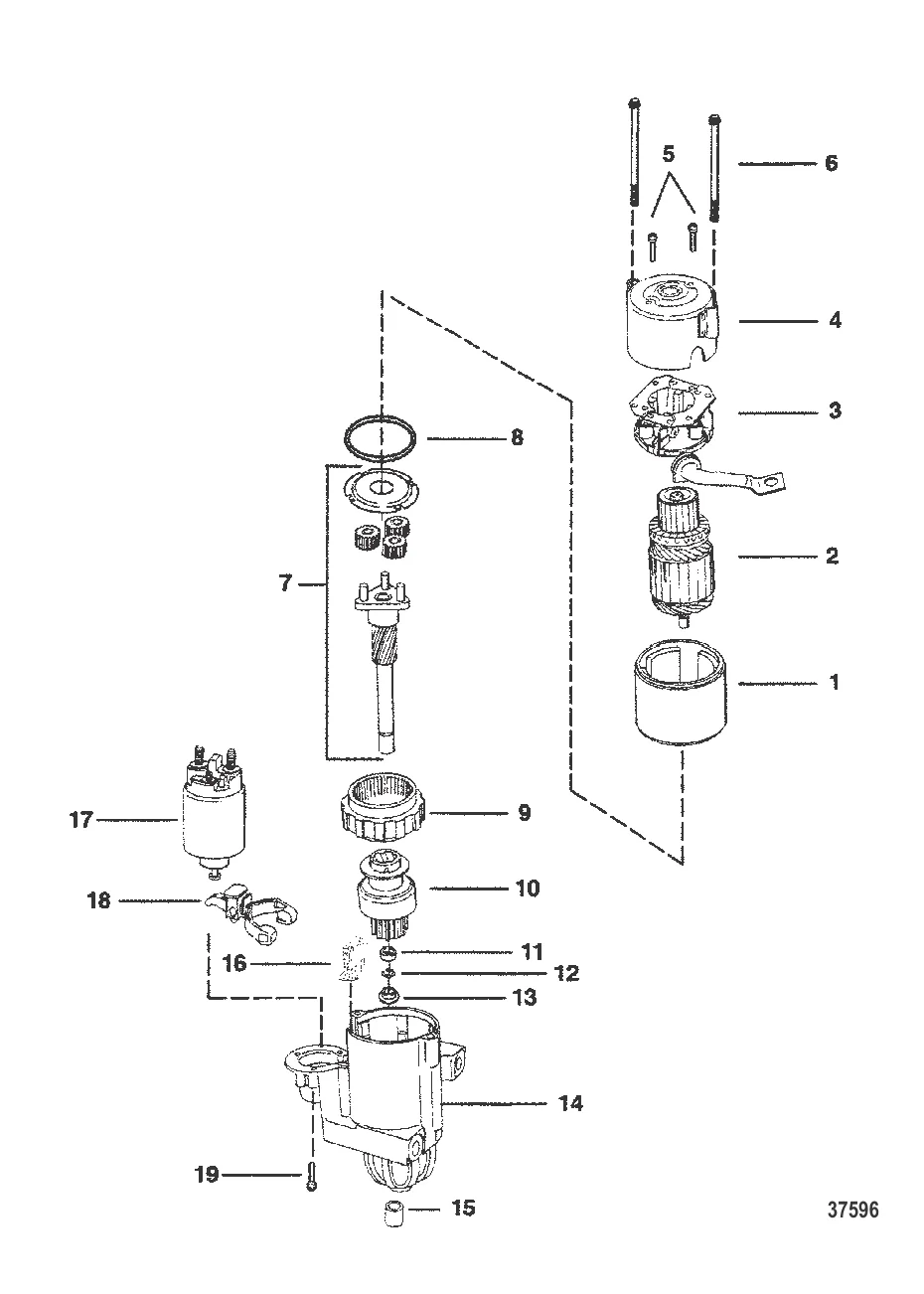
СТАРТЕР (8" – 2-7/8" ДИАМ. КОЛПАЧКА)(PG 260) — 1988-1995 [0B774445 THRU 0F600999] - Cat.# 90-816596 — купить в Victory Marine
СТАРТЕР (8" – 2-7/8" ДИАМ. КОЛПАЧКА)(PG 260)
11
12
14
15
19

СТАРТЕР (8" – 2-7/8" ДИАМ. КОЛПАЧКА)(PG 260)

43 456 ₽

250 ₽

110 ₽

Уточняйте

633 ₽

21 500 ₽

Уточняйте

Полезные статьи

Все статьи →
Связаться с нами