СТАРТЕР — 7.4L TBI MIE (LH) GEN. VI GM 454 V-8 — купить в Victory Marine
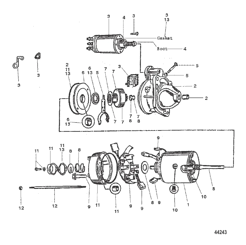
СТАРТЕР
1
2
3
7
9
12
13

СТАРТЕР

63 054 ₽

Уточняйте

18 375 ₽

Уточняйте

Уточняйте

Уточняйте

Уточняйте

Полезные статьи

Все статьи →
Обслуживание и ремонт

Топливный фильтр-сепаратор для лодочного мотора: зачем нужен и как обслуживать

Зачем нужен выносной фильтр-сепаратор, чем отличается от встроенного, как выбрать, установить и обслуживать. Артикулы Quicksilver, признаки забитого фильтра и цена вопроса.

1 мин.
Сравнения и обзоры

Инжектор vs карбюратор на лодочном моторе — преимущества EFI

Сравниваем инжекторную (EFI) и карбюраторную топливные системы на лодочных моторах. Разбираем расход топлива, холодный запуск, обслуживание и цену — и объясняем, почему Mercury перевели все моторы на EFI.

1 мин.
Гайды и подбор

Транцевые колёса для лодки ПВХ — как выбрать и установить самому

Как выбрать транцевые колёса для надувной лодки: откидные, съёмные, на струбцинах. Пошаговая установка своими руками, подбор по размеру и весу лодки, обзор популярных моделей.

1 мин.
Связаться с нами