СТАРТЕР (12") — 1987 [0B525982 THRU 0B773739] — купить в Victory Marine
СТАРТЕР (12")
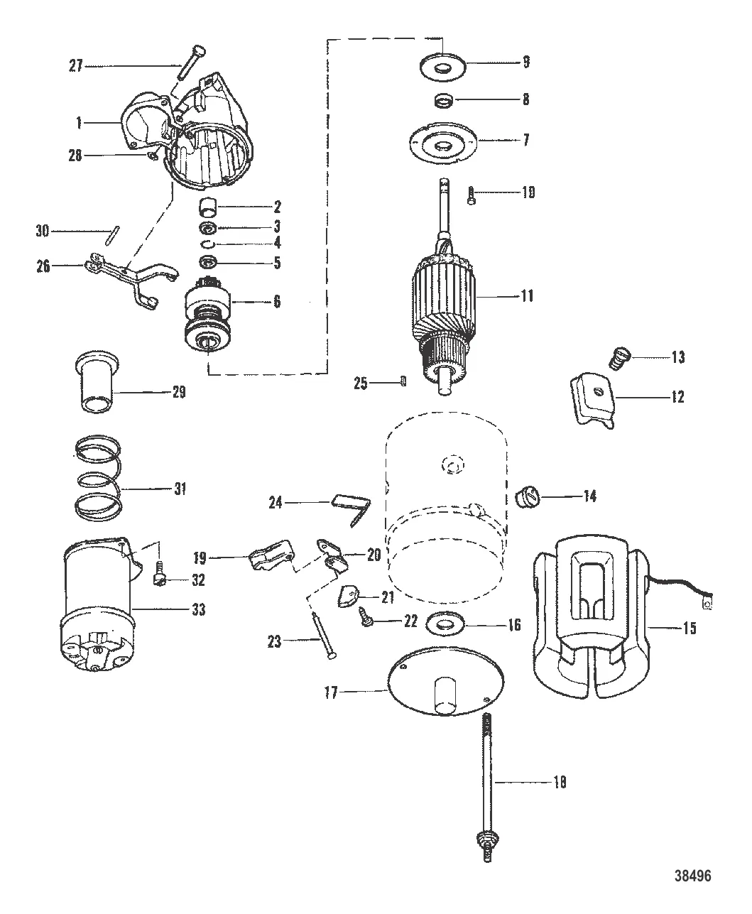
1
2
3
4
5
6
7
8
9
11
14
15
16
17
20
21
23
24
26
29
32

СТАРТЕР (12")

Уточняйте

Уточняйте

Уточняйте

Уточняйте

110 ₽

250 ₽

6 . DRIVE ASSY Mercury 79205T

79205 → 33318 → 79205T

Уточняйте

Уточняйте

Уточняйте

Уточняйте

Уточняйте

Уточняйте

Уточняйте

Уточняйте

Уточняйте

Уточняйте

17 . РАМА Mercury 79211

33295 → 79211

Уточняйте

Уточняйте

890 ₽

23 . ОПОРА Mercury 33294

60686 → 33281 → 33294

Уточняйте

255 ₽

Уточняйте

Уточняйте

Уточняйте

13 010 ₽

Уточняйте

Полезные статьи

Все статьи →
Обслуживание и ремонт

Топливный фильтр-сепаратор для лодочного мотора: зачем нужен и как обслуживать

Зачем нужен выносной фильтр-сепаратор, чем отличается от встроенного, как выбрать, установить и обслуживать. Артикулы Quicksilver, признаки забитого фильтра и цена вопроса.

1 мин.
Обслуживание и ремонт

Электросхема лодочного мотора Mercury: популярные модели

Подробный разбор электросхем лодочных моторов Mercury — от простых 9.9/15 двухтактных до мощных 150-200 четырёхтактных. Цветовая маркировка проводов, система зажигания, зарядки и запуска. Диагностика мультиметром, типичные неисправности и когда пора к электрику.

3 мин.
Гайды и подбор

Судовой билет на лодку — что это, как получить и что в нём указано

Судовой билет — главный документ маломерного судна, без которого вас оштрафуют при первой же проверке ГИМС. Разбираем, кому он нужен, как его получить и что делать при утере.

1 мин.
Связаться с нами