СТАНДАРТНАЯ СИСТЕМА ОХЛАЖДЕНИЯ (КОНСТРУКЦИЯ II – ALPHA) — 1987 [0B525982 THRU 0B773739] - Cat.# 90-816596 — купить в Victory Marine
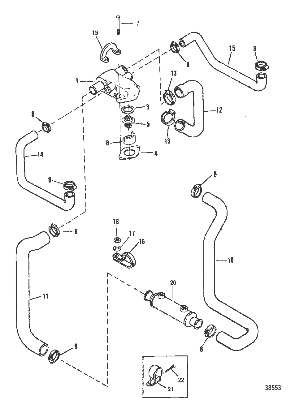
СТАНДАРТНАЯ СИСТЕМА ОХЛАЖДЕНИЯ (КОНСТРУКЦИЯ II – ALPHA)
7
10
11
14
15
16
17
18
19
21
22

СТАНДАРТНАЯ СИСТЕМА ОХЛАЖДЕНИЯ (КОНСТРУКЦИЯ II – ALPHA)

78 695 ₽

600 ₽

5 . 8M0109441 Термостат Mercruiser 3.0-8.1 ( QUICKSILVER )

8M0091470 → 807252T2 → 8072522 → 8052732 → 8M0109441

5 800 ₽

1 900 ₽

7 . винт Mercury 8M0113179

98508 → 8M0113179

1 070 ₽

989 ₽

10 . РУКАВ Mercury 96246A4

96246A1 → 96246 → 96246A4

9 003 ₽

5 700 ₽

8 393 ₽

1 109 ₽

7 453 ₽

7 928 ₽

Уточняйте

216 ₽

298 ₽

2 195 ₽

44 211 ₽

1 697 ₽

344 ₽

Полезные статьи

Все статьи →
Связаться с нами