СТАНДАРТНАЯ СИСТЕМА ОХЛАЖДЕНИЯ (КОНСТРУКЦИЯ II) — 1993-1995 [0F000878 THRU 0F601126] — купить в Victory Marine
СТАНДАРТНАЯ СИСТЕМА ОХЛАЖДЕНИЯ (КОНСТРУКЦИЯ II)
7
10
11
14
15
16
17
19
20
21

СТАНДАРТНАЯ СИСТЕМА ОХЛАЖДЕНИЯ (КОНСТРУКЦИЯ II)

78 695 ₽

600 ₽

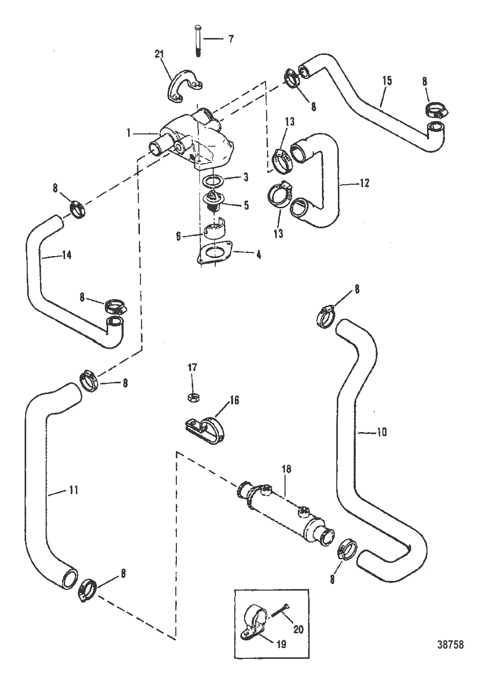
5 . 8M0109441 Термостат Mercruiser 3.0-8.1 ( QUICKSILVER )

8M0091470 → 807252T2 → 8072522 → 8052732 → 8M0109441

5 800 ₽

1 900 ₽

7 . винт Mercury 8M0113179

98508 → 8M0113179

1 070 ₽

989 ₽

10 . РУКАВ Mercury 41642A3

41642A1 → 41642A3

8 018 ₽

5 700 ₽

8 393 ₽

1 109 ₽

7 453 ₽

7 928 ₽

Уточняйте

298 ₽

44 211 ₽

1 697 ₽

344 ₽

2 195 ₽

Полезные статьи

Все статьи →
Связаться с нами