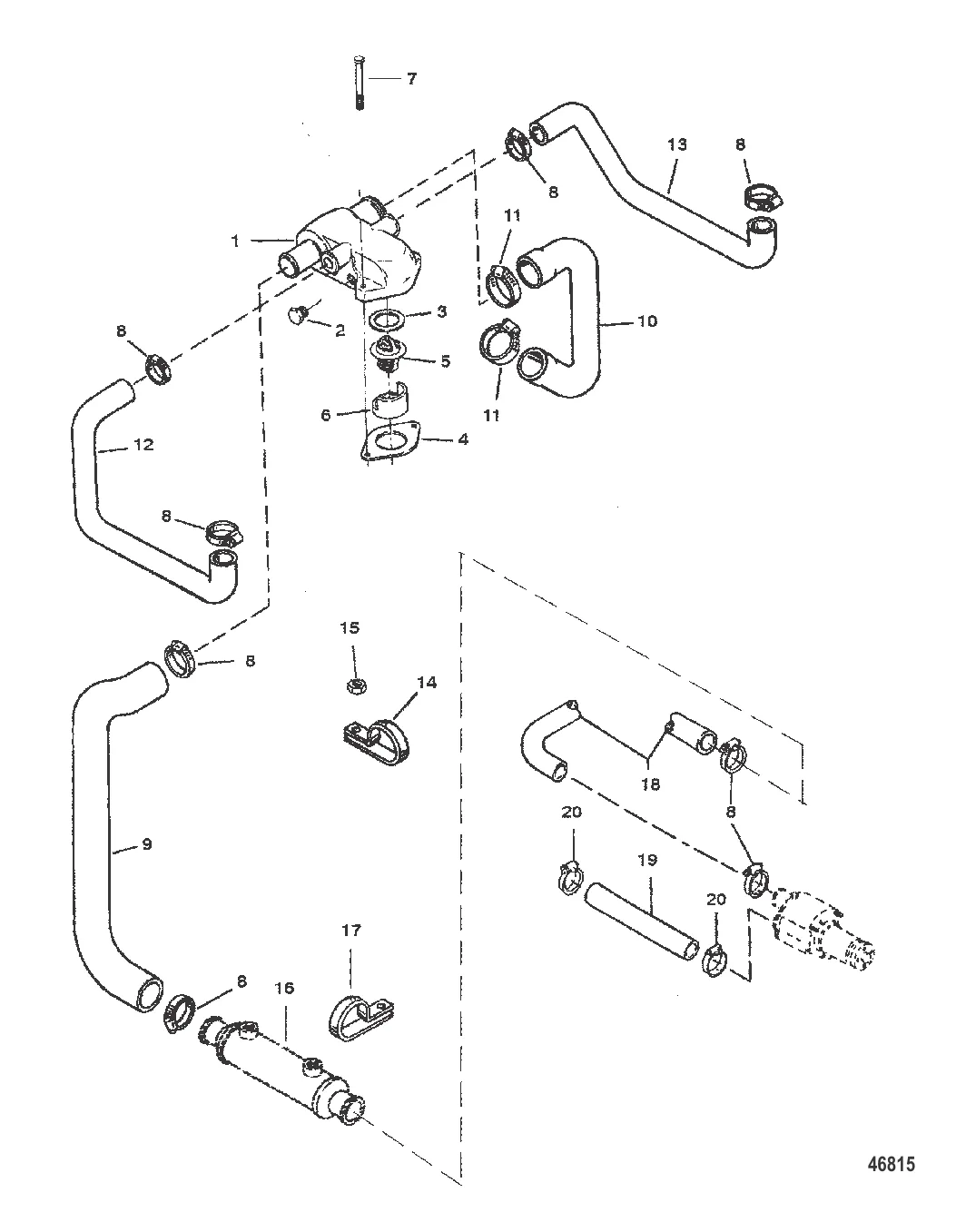
СТАНДАРТНАЯ СИСТЕМА ОХЛАЖДЕНИЯ (ДВИГАТЕЛИ BRAVO) — 1996 [0F752400 THRU 0K001505] - USA — купить в Victory Marine
СТАНДАРТНАЯ СИСТЕМА ОХЛАЖДЕНИЯ (ДВИГАТЕЛИ BRAVO)
2
7
9
12
13
14
15
16
17
18

СТАНДАРТНАЯ СИСТЕМА ОХЛАЖДЕНИЯ (ДВИГАТЕЛИ BRAVO)

Уточняйте

Уточняйте

600 ₽

5 . 8M0109441 Термостат Mercruiser 3.0-8.1 ( QUICKSILVER )

8M0091470 → 807252T2 → 8072522 → 8052732 → 8M0109441

5 800 ₽

1 900 ₽

678 ₽

989 ₽

5 700 ₽

8 393 ₽

1 109 ₽

7 453 ₽

7 928 ₽

Уточняйте

298 ₽

36 002 ₽

653 ₽

6 842 ₽

33 459 ₽

792 ₽

Полезные статьи

Все статьи →
Связаться с нами