Популярные города
Товаров не найдено, но мы можем привезти под заказ
Нет аккаунта?
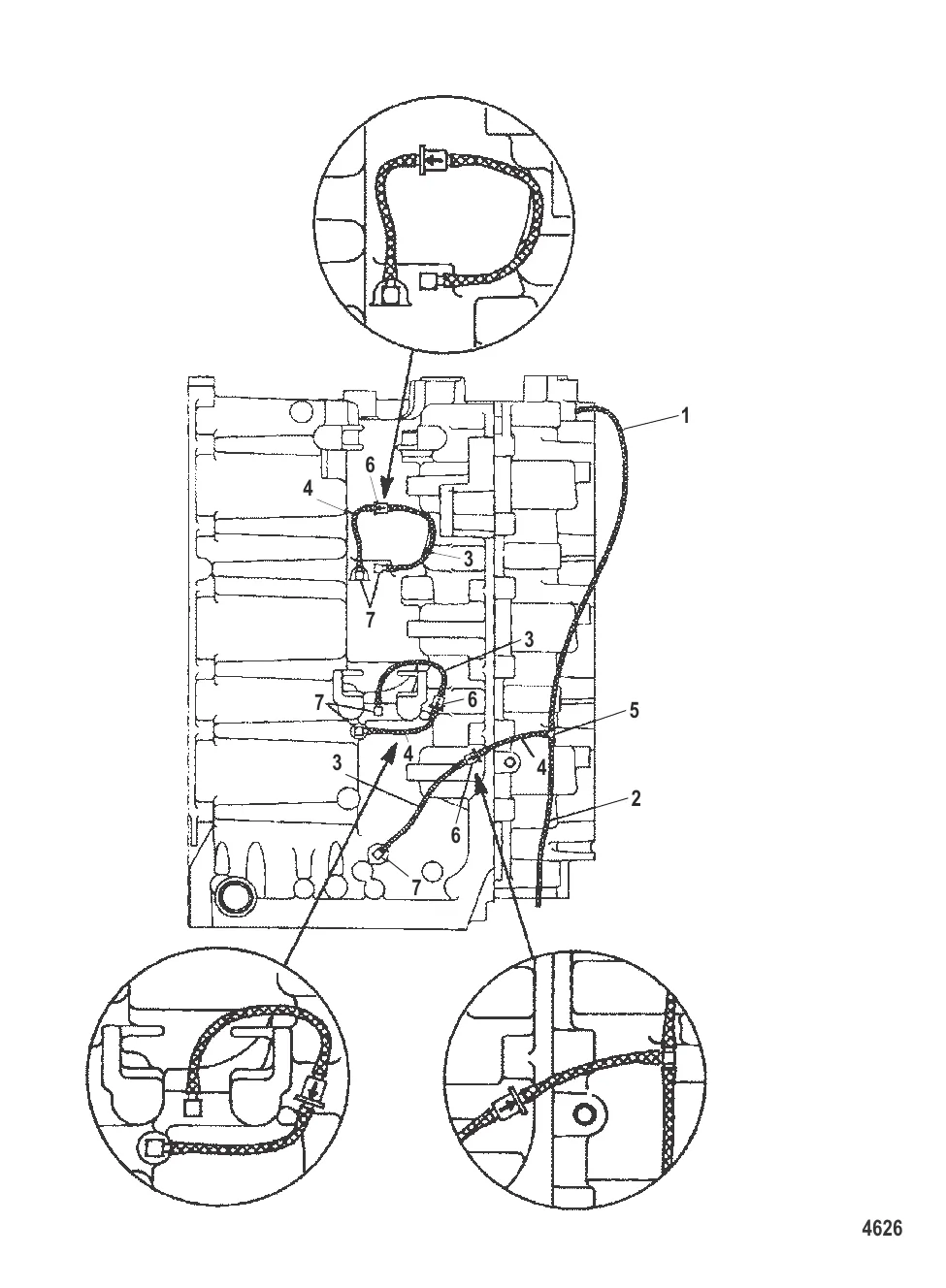
Шланг топливный 892024122
99130122 → 892024122
ФИТИНГ Тройник Mercury 59169003
591692 → 59169003
ОБРАТНЫЙ КЛАПАН Mercury 149126
14912 → 149126
ФИТИНГ Mercury 15133
71191 → 15133
6 600 ₽
851 ₽
2 582 ₽
2 033 ₽
Подробный разбор электросхем лодочных моторов Mercury — от простых 9.9/15 двухтактных до мощных 150-200 четырёхтактных. Цветовая маркировка проводов, система зажигания, зарядки и запуска. Диагностика мультиметром, типичные неисправности и когда пора к электрику.
Разбираем 10 реальных способов добавить скорости ПВХ-лодке без покупки нового мотора: правильный винт, развесовка, давление в баллонах, гидрокрыло, высота установки и другое.
Как выбрать спасательный жилет, который и ГИМС устроит, и рыбачить в нём удобно. Отличие спасательного от страховочного, размеры, плавучесть, что проверяют инспекторы.
Контакты
+7 800 555-65-49
Бесплатно по России — нажмите, чтобы позвонить
Написать нам
Перезвоните мне
Оставьте номер — наш эксперт перезвонит и подберёт нужные запчасти
Нажимая кнопку, вы соглашаетесь на обработку персональных данных
Наш эксперт свяжется с вами в ближайшее время
Скидка будет применена к вашему заказу