Популярные города
Товаров не найдено, но мы можем привезти под заказ
Нет аккаунта?
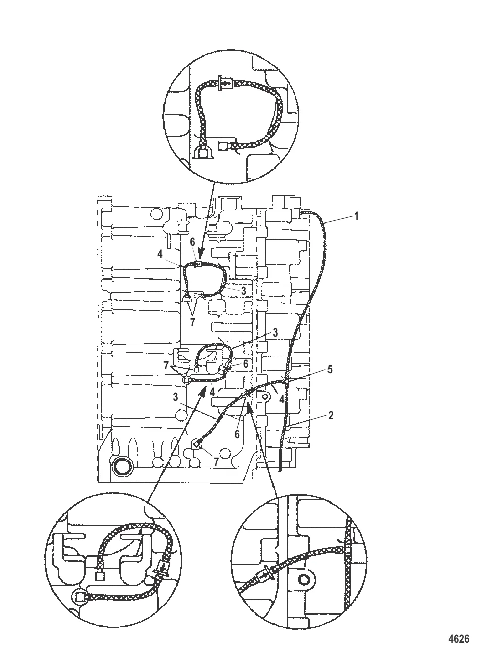
Шланг топливный 892024122
99130122 → 892024122
ФИТИНГ Тройник Mercury 59169003
591692 → 59169003
ОБРАТНЫЙ КЛАПАН Mercury 149126
14912 → 149126
ФИТИНГ Mercury 15133
71191 → 15133
6 600 ₽
851 ₽
2 582 ₽
2 033 ₽
Промывка системы охлаждения — обязательная процедура для любого лодочного мотора, особенно после эксплуатации в солёной или мутной воде. Разбираем средства, методы и пошаговую процедуру промывки для моторов Mercury.
Карпфишинг с нуля: какие снасти купить, как вязать монтажи, что такое бойлы и как выбрать точку ловли. Полный гайд для новичков.
Разбираем ТОП-10 воблеров на щуку в 2026 году: минноу, крэнки, попперы и диповые модели. Как выбрать воблер по сезону и условиям ловли.
Контакты
+7 800 555-65-49
Бесплатно по России — нажмите, чтобы позвонить
Написать нам
Перезвоните мне
Оставьте номер — наш эксперт перезвонит и подберёт нужные запчасти
Нажимая кнопку, вы соглашаетесь на обработку персональных данных
Наш эксперт свяжется с вами в ближайшее время
Скидка будет применена к вашему заказу