Популярные города
Товаров не найдено, но мы можем привезти под заказ
Нет аккаунта?
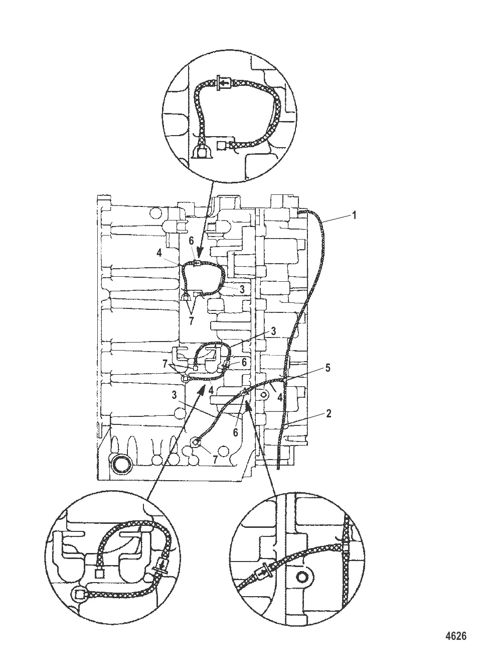
Шланг топливный 892024122
99130122 → 892024122
ФИТИНГ Тройник Mercury 59169003
591692 → 59169003
ОБРАТНЫЙ КЛАПАН Mercury 149126
14912 → 149126
ФИТИНГ Mercury 15133
71191 → 15133
6 600 ₽
851 ₽
2 582 ₽
2 033 ₽
Рассказываем, как устроена наша оптовая программа: кому подойдёт, что входит в условия и как получить доступ к специальным ценам на запчасти Mercury, MerCruiser и Quicksilver.
Полная таблица пропорций масла и бензина для двухтактных лодочных моторов Yamaha, Mercury, Tohatsu, Honda. Что будет, если перелить или недолить масло, и какое масло TC-W3 выбрать.
Разбираемся, какую солнечную панель поставить на лодку, чтобы аккумулятор не сдох посреди водохранилища. Гибкие, жёсткие, складные — считаем ватты, выбираем контроллер и собираем автономную систему.
Контакты
+7 800 555-65-49
Бесплатно по России — нажмите, чтобы позвонить
Написать нам
Перезвоните мне
Оставьте номер — наш эксперт перезвонит и подберёт нужные запчасти
Нажимая кнопку, вы соглашаетесь на обработку персональных данных
Наш эксперт свяжется с вами в ближайшее время
Скидка будет применена к вашему заказу