Популярные города
Товаров не найдено, но мы можем привезти под заказ
Нет аккаунта?
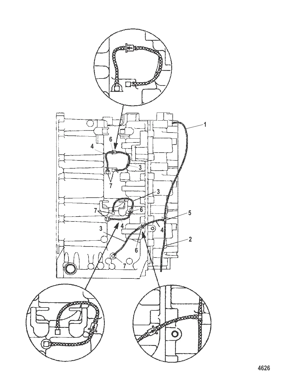
Шланг топливный 892024122
99130122 → 892024122
ФИТИНГ Тройник Mercury 59169003
591692 → 59169003
ОБРАТНЫЙ КЛАПАН Mercury 149126
14912 → 149126
ФИТИНГ Mercury 15133
71191 → 15133
6 600 ₽
851 ₽
2 582 ₽
2 033 ₽
Разбираемся в страховании маломерных судов: КАСКО, страхование ответственности, от угона. Сколько стоит, что покрывает, когда имеет смысл оформлять.
Зачем нужен выносной фильтр-сепаратор, чем отличается от встроенного, как выбрать, установить и обслуживать. Артикулы Quicksilver, признаки забитого фильтра и цена вопроса.
Жертвенные аноды — копеечная деталь, без которой мотор съест коррозия. Разбираем типы (цинк, магний, алюминий), расположение на Mercury, правила замены и частые ошибки.
Контакты
+7 800 555-65-49
Бесплатно по России — нажмите, чтобы позвонить
Написать нам
Перезвоните мне
Оставьте номер — наш эксперт перезвонит и подберёт нужные запчасти
Нажимая кнопку, вы соглашаетесь на обработку персональных данных
Наш эксперт свяжется с вами в ближайшее время
Скидка будет применена к вашему заказу