Популярные города
Товаров не найдено, но мы можем привезти под заказ
Нет аккаунта?
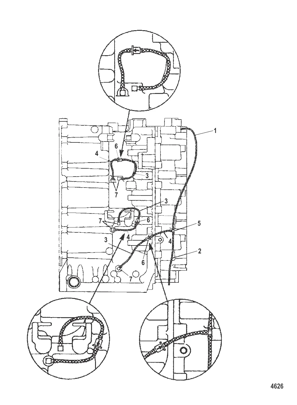
Шланг топливный 892024122
99130122 → 892024122
ФИТИНГ Тройник Mercury 59169003
591692 → 59169003
ОБРАТНЫЙ КЛАПАН Mercury 149126
14912 → 149126
ФИТИНГ Mercury 15133
71191 → 15133
6 600 ₽
851 ₽
2 582 ₽
2 033 ₽
Ночная рыбалка с лодки дарит незабываемые эмоции и трофейные уловы, но требует серьёзной подготовки. Разбираем обязательное снаряжение, правила безопасности и тактику ловли в тёмное время суток.
Подробный календарь клёва рыбы на 2026 год с помесячным прогнозом для щуки, судака, окуня, леща, карпа и сома. Лунные фазы, лучшие приманки и региональные поправки.
Перегрев — одна из самых опасных ситуаций для подвесного мотора. Разбираем 7 основных причин перегрева и даём пошаговую инструкцию, что делать, если температура полезла вверх прямо посреди водоёма.
Контакты
+7 800 555-65-49
Бесплатно по России — нажмите, чтобы позвонить
Написать нам
Перезвоните мне
Оставьте номер — наш эксперт перезвонит и подберёт нужные запчасти
Нажимая кнопку, вы соглашаетесь на обработку персональных данных
Наш эксперт свяжется с вами в ближайшее время
Скидка будет применена к вашему заказу