Система смазки — [1B736885 & Up] - USA — купить в Victory Marine
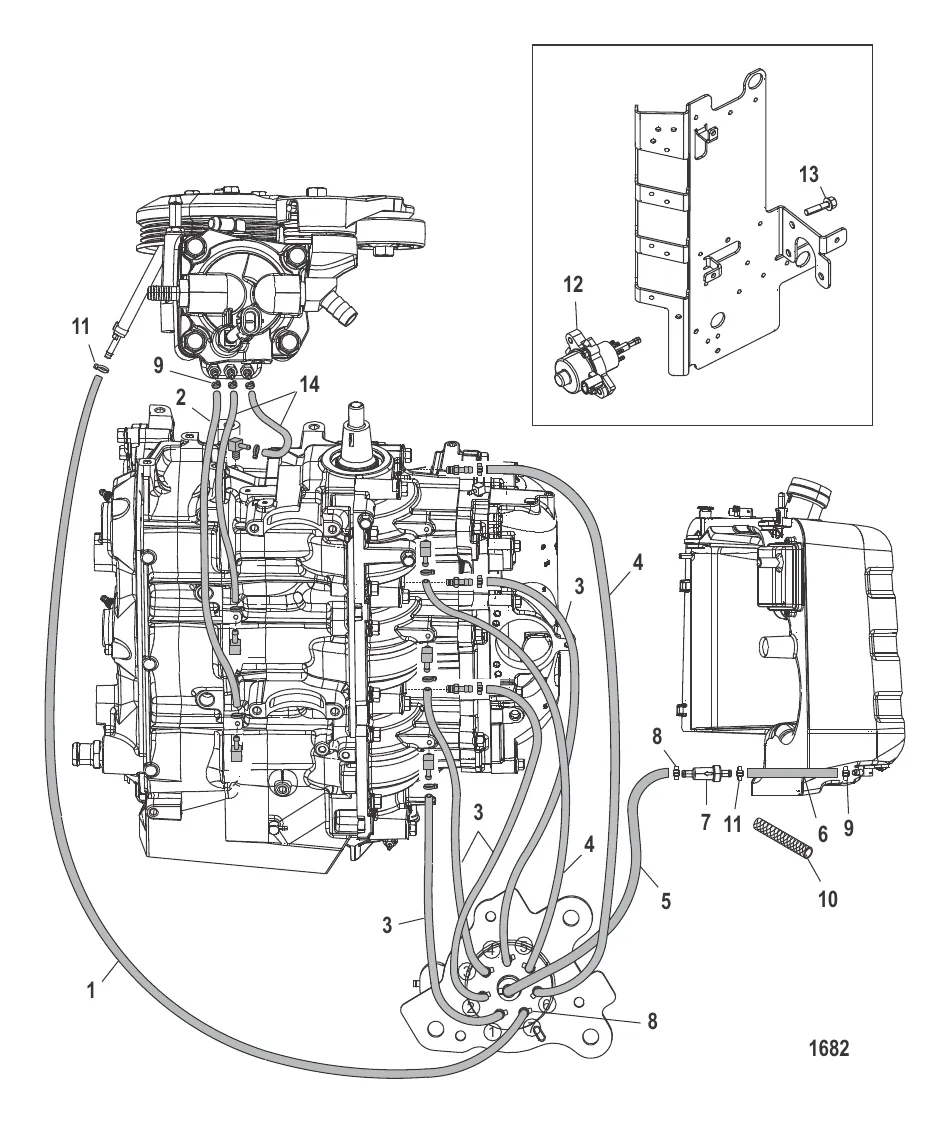
Система смазки
1
8
9
11
12
13

Система смазки

4 928 ₽

6 . ТРУБОПРОВОД (Общая длина 25.00") Mercury 82381455

82381451 → 82381436 → 4301736 → 4301715 → 42544 → 82381455

2 521 ₽

729 ₽

28 ₽

45 ₽

796 ₽

22 ₽

79 440 ₽

699 ₽

2 399 ₽

Полезные статьи

Все статьи →
Связаться с нами