СИСТЕМА КОНТРОЛЯ ТОПЛИВА — [0G129222 THRU 0G760299] - USA — купить в Victory Marine
СИСТЕМА КОНТРОЛЯ ТОПЛИВА
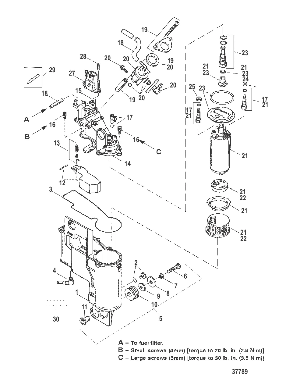
1
2
3
4
5
6
7
8
9
10
11
12
13
14
16
18
19
25
28
29
30

СИСТЕМА КОНТРОЛЯ ТОПЛИВА

52 107 ₽

3 881 ₽

8 728 ₽

8 959 ₽

Уточняйте

Уточняйте

7 . Шайба 400256

16819 → 95303 → 400256

225 ₽

1 085 ₽

866 ₽

338 ₽

Уточняйте

3 534 ₽

6 508 ₽

Уточняйте

6 137 ₽

Уточняйте

58 740 ₽

12 610 ₽

Уточняйте

87 191 ₽

104 684 ₽

41 524 ₽

25 449 ₽

72 684 ₽

152 ₽

284 ₽

628 ₽

30 . REF OB SB 09-18 Mercury 855577A14

85557714 → 85521114 → 855577A14

2 235 ₽

Полезные статьи

Все статьи →
Связаться с нами