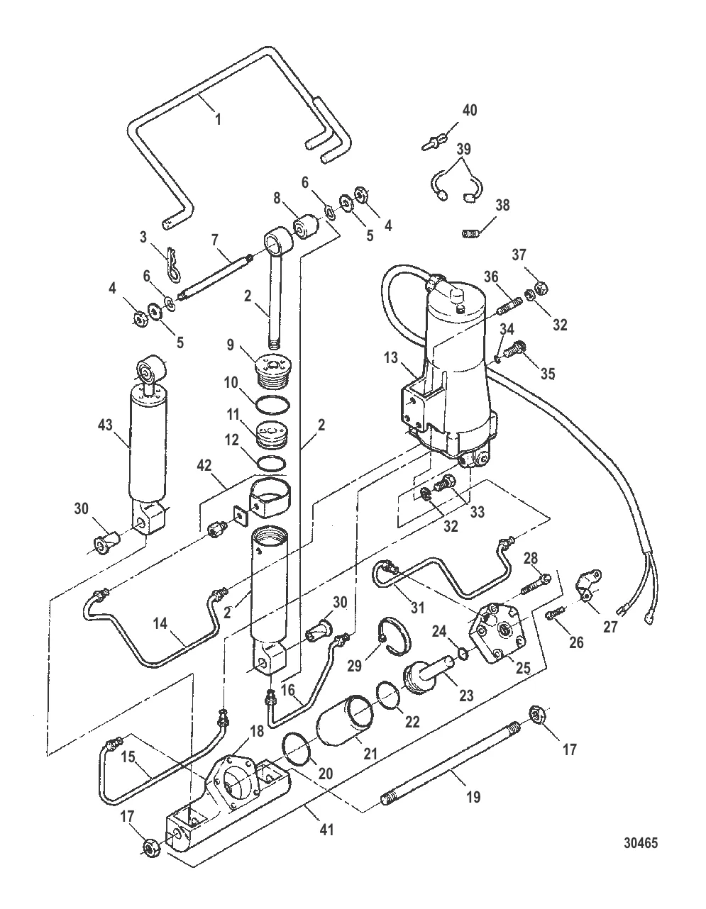
СИСТЕМА ДИФФЕРЕНТА И НАКЛОНА В СБОРЕ (F5H149-1) — [ALL & Up] — купить в Victory Marine
СИСТЕМА ДИФФЕРЕНТА И НАКЛОНА В СБОРЕ (F5H149-1)
2
3
5
6
7
8
9
10
11
12
13
14
15
16
17
18
19
20
21
22
23
24
25
26
27
28
29
30
31
32
34
35
36
37
38
39
40
41
42
43

СИСТЕМА ДИФФЕРЕНТА И НАКЛОНА В СБОРЕ (F5H149-1)

Уточняйте

2 . ЦИЛИНДР В СБОРЕ Mercury 819365A2

FS654381 → F17527 → 819365A2

Уточняйте

3 . ШТИФТ Mercury F525629

F1985 → F525629

592 ₽

1 376 ₽

Уточняйте

Уточняйте

7 970 ₽

Уточняйте

Уточняйте

222 ₽

Уточняйте

623 ₽

Уточняйте

3 448 ₽

4 551 ₽

3 987 ₽

1 759 ₽

18 . КОРПУС Mercury 818055F

F449545-2 → 818055F

45 873 ₽

Уточняйте

309 ₽

21 . CYLINDER HYD Mercury 803823T

F449010 → 803823T

12 583 ₽

286 ₽

16 046 ₽

93 ₽

Уточняйте

Уточняйте

Уточняйте

Уточняйте

45 ₽

30 . ВТУЛКА Mercury F449362

F178362 → F449362

865 ₽

4 213 ₽

223 ₽

339 ₽

34 . Кольцо 627021

62702 → 22175 → 627021

171 ₽

Уточняйте

Уточняйте

37 . ГАЙКА (0.312-18) Mercury 68292

F1349 → F1330 → 68292

197 ₽

38 . НАБОР ПРУЖИН Mercury 2529

F17500 → F17612 → 2529

591 ₽

1 280 ₽

Уточняйте

Уточняйте

11 567 ₽

46 227 ₽

Полезные статьи

Все статьи →
Связаться с нами