СИСТЕМА ДИФФЕРЕНТА И НАКЛОНА В СБОРЕ (819762A12) — [ALL & Up] — купить в Victory Marine
СИСТЕМА ДИФФЕРЕНТА И НАКЛОНА В СБОРЕ (819762A12)
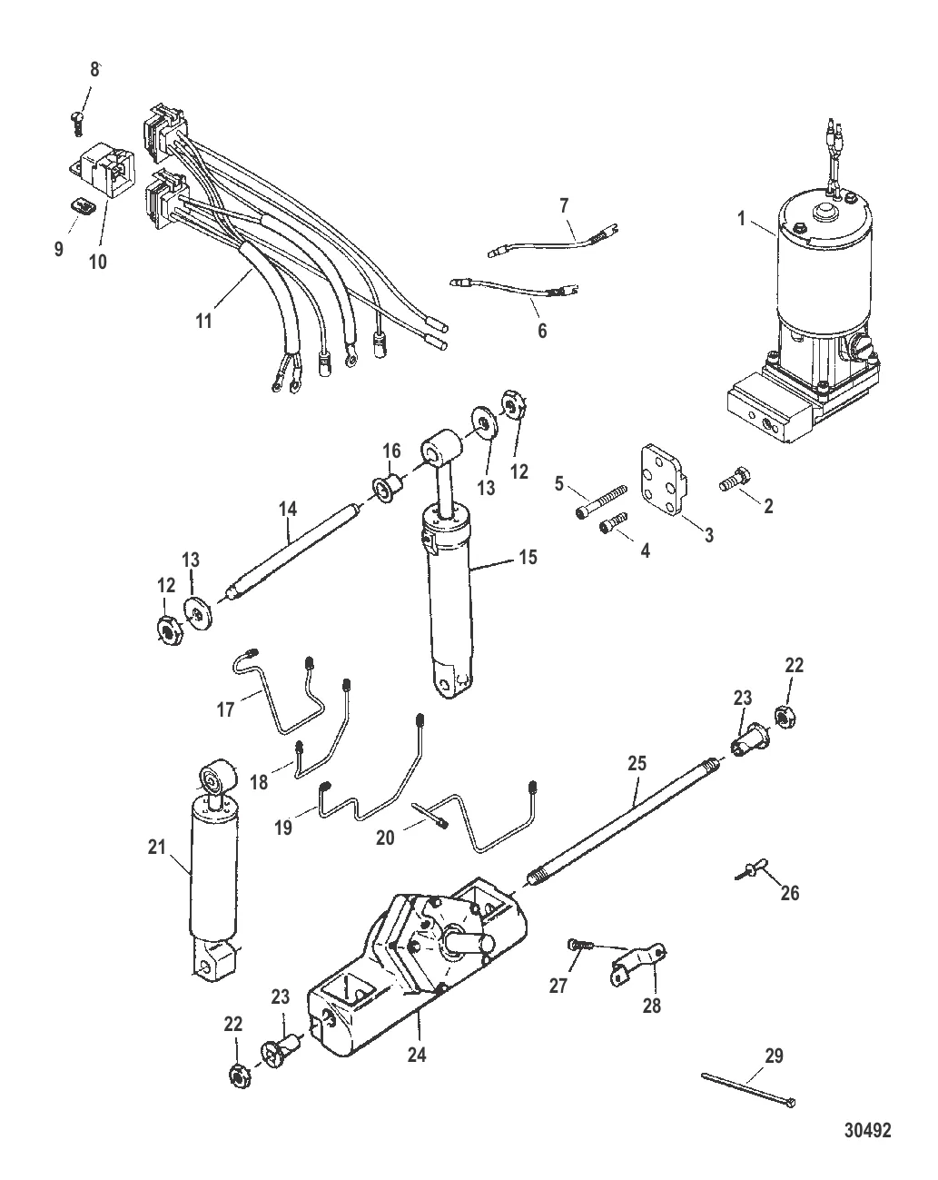
1
3
4
5
6
7
8
9
10
13
14
15
16
17
18
19
20
21
22
23
24
25
26
27
28
29

СИСТЕМА ДИФФЕРЕНТА И НАКЛОНА В СБОРЕ (819762A12)

155 118 ₽

339 ₽

42 455 ₽

358 ₽

283 ₽

490 ₽

603 ₽

208 ₽

797 ₽

3 526 ₽

11 915 ₽

1 376 ₽

Уточняйте

7 970 ₽

Уточняйте

Уточняйте

7 401 ₽

5 653 ₽

6 898 ₽

6 758 ₽

46 227 ₽

1 759 ₽

23 . ВТУЛКА Mercury F449362

F178362 → F449362

865 ₽

Уточняйте

Уточняйте

Уточняйте

Уточняйте

Уточняйте

45 ₽

Полезные статьи

Все статьи →
Связаться с нами