Шестерня и вал крыльчатки (Шлицевый привод) — 1995 [0E145580 THRU 0E151579] - Belgium — купить в Victory Marine
Шестерня и вал крыльчатки (Шлицевый привод)
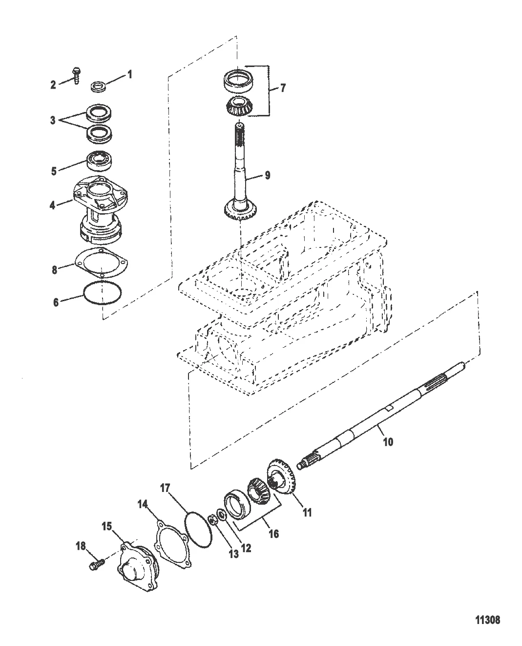
1
3
4
5
8
9
10
11
12
13
14
15
17
18

Шестерня и вал крыльчатки (Шлицевый привод)

Уточняйте

2 909 ₽

26 326 ₽

9 001 ₽

684 ₽

Уточняйте

Уточняйте

Уточняйте

Уточняйте

Уточняйте

Уточняйте

36 536 ₽

37 964 ₽

13 731 ₽

Уточняйте

450 ₽

Уточняйте

Уточняйте

Уточняйте

Уточняйте

Уточняйте

Уточняйте

Уточняйте

16 . 8M0103473 Подшипник вала Mercruiser Bravo 1,2,3

86748A1 → F506818 → F508814 → 8M0103473

7 500 ₽

579 ₽

599 ₽

Полезные статьи

Все статьи →
Связаться с нами