Шестерня и вал крыльчатки — ВОДОМЕТНЫЙ ПРИВОД 210 КАРБ. M2 (СИЛОВАЯ ГОЛОВКА) — купить в Victory Marine
Шестерня и вал крыльчатки
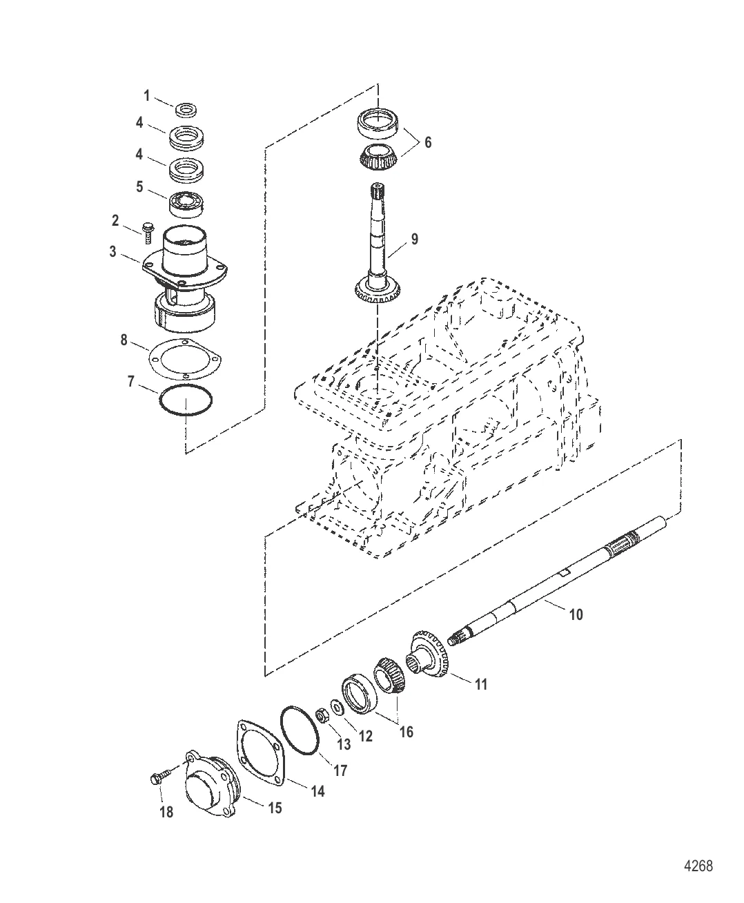
1
4
5
8
9
10
11
12
13
14
15
16
18

Шестерня и вал крыльчатки

Уточняйте

60 716 ₽

2 909 ₽

9 001 ₽

684 ₽

5 123 ₽

2 534 ₽

3 334 ₽

2 534 ₽

2 534 ₽

94 672 ₽

10 . ВАЛ Mercury 888499T

835366T → 888499T

73 789 ₽

30 560 ₽

1 278 ₽

450 ₽

2 753 ₽

2 734 ₽

2 786 ₽

2 278 ₽

2 279 ₽

48 104 ₽

15 985 ₽

779 ₽

599 ₽

Полезные статьи

Все статьи →
Связаться с нами