Шарнирный кронштейн Вручную — [0R106999 & Up] - USA — купить в Victory Marine
Шарнирный кронштейн Вручную
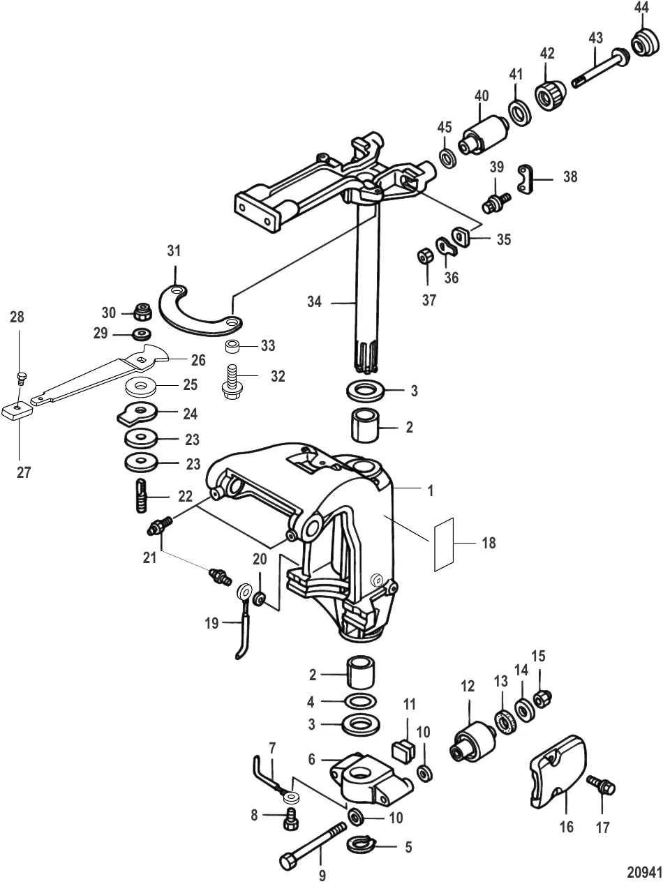
1
2
3
4
5
7
8
9
10
11
12
13
14
15
16
17
18
19
21
22
23
24
25
26
27
28
29
30
31
32
33
34
35
36
37
38
39
40
41
42
43
44
45

Шарнирный кронштейн Вручную

38 304 ₽

995 ₽

624 ₽

367 ₽

522 ₽

6 . ВИЛКА Нижняя часть Mercury 853786T06

853786T04 → 853786004 → 853786T06

12 621 ₽

869 ₽

8 . БОЛТ (M6 x 12) Mercury 8230427

879194261 → 82304234 → 8230427

171 ₽

2 438 ₽

10 . шайба Mercury 879194343

95392014 → 879194343

230 ₽

714 ₽

12 . MOUNT Mercury 8M0075315

8537712 → 8M0075315

3 515 ₽

1 558 ₽

574 ₽

1 263 ₽

2 903 ₽

286 ₽

Уточняйте

716 ₽

133 ₽

291 ₽

875 ₽

23 . DISC 8M0145395

895173 → 8M0145395

760 ₽

862 ₽

171 ₽

1 446 ₽

543 ₽

28 . STOPPER Mercury 8M0051399

853776 → 8M0051399

308 ₽

29 . ШАЙБА Mercury 16192

879194339 → 895106001 → 16192

167 ₽

519 ₽

503 ₽

32 . Болт 8248324

82304213 → 804368 → 8248324

194 ₽

622 ₽

34 . SWIVEL TUBE 8M0163141

853770T09 → 8M0163141

77 720 ₽

164 ₽

159 ₽

37 . ГАЙКА Mercury 85372215

898101121 → 85372215

164 ₽

2 561 ₽

39 . БОЛТ Mercury 879194249

823042040 → 879194249

Уточняйте

4 243 ₽

377 ₽

185 ₽

1 760 ₽

199 ₽

221 ₽

Полезные статьи

Все статьи →
Связаться с нами