Шарнирный кронштейн (Отливка №1499-8710-6) — [0C239553 THRU 0D081999] - USA - Cat.# 90-81609890 — купить в Victory Marine
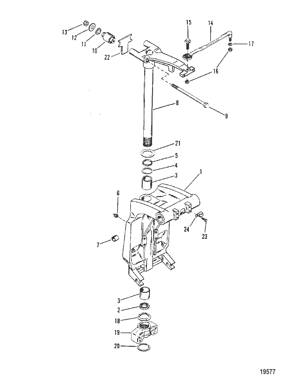
Шарнирный кронштейн (Отливка №1499-8710-6)
2
3
4
5
6
7
9
10
11
12
14
15
18
19
20
21
22
23
24

Шарнирный кронштейн (Отливка №1499-8710-6)

109 511 ₽

276 609 ₽

4 883 ₽

3 . Втулка 818764

67669 → 818764

4 478 ₽

329 ₽

663 ₽

Уточняйте

1 139 ₽

Уточняйте

9 . SCREW 8M0176309

8M0000491 → 8M0176309

1 547 ₽

26 246 ₽

10 . КРЕПЛЕНИЕ Mercury 78687T

78687 → 67209 → 78687T

5 852 ₽

741 ₽

236 ₽

900 ₽

16 472 ₽

2 549 ₽

16 . ГАЙКА (0.375-24), латунь Mercury 8M0042636

826709113 → 34863 → 20509 → 8M0042636

Уточняйте

300 ₽

1 726 ₽

Уточняйте

561 ₽

Уточняйте

1 365 ₽

203 ₽

544 ₽

Полезные статьи

Все статьи →
Связаться с нами