Шарнирный кронштейн и рычаг рулевого механизма Длинный — [0G610104 THRU 0G856999] - USA — купить в Victory Marine
Шарнирный кронштейн и рычаг рулевого механизма Длинный
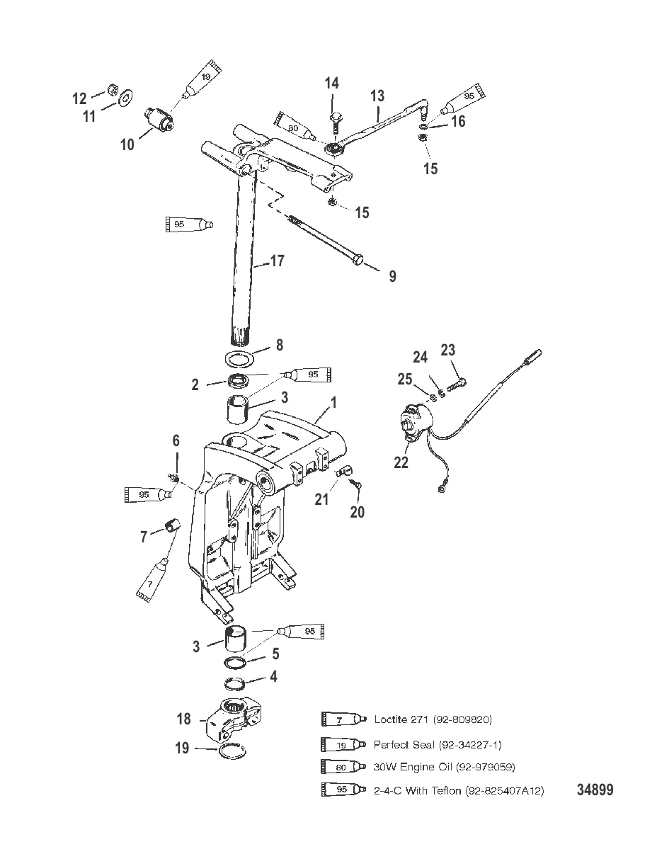
2
3
4
5
6
7
8
9
10
11
13
14
19
20
21
23
24
25

Шарнирный кронштейн и рычаг рулевого механизма Длинный

109 511 ₽

276 609 ₽

4 883 ₽

3 . Втулка 818764

67669 → 818764

4 478 ₽

1 803 ₽

Уточняйте

Уточняйте

1 139 ₽

884 ₽

9 . SCREW 8M0176309

8M0000491 → 8M0176309

1 547 ₽

20 319 ₽

236 ₽

900 ₽

16 472 ₽

2 549 ₽

15 . ГАЙКА (0.375-24), латунь Mercury 8M0042636

826709113 → 34863 → 20509 → 8M0042636

Уточняйте

300 ₽

Уточняйте

Уточняйте

561 ₽

203 ₽

544 ₽

22 . Датчик усилителя дифферента 8M0074846

821180A6 → 821180A3 → 95164A9 → 95164A4 → 8M0074846

5 144 ₽

239 ₽

24 . Шайба 26996

20040 → 26996

140 ₽

228 ₽

Полезные статьи

Все статьи →
Сравнения и обзоры

НДНД, аирдек или пайол — какое дно лодки ПВХ лучше: сравнение

Разбираем три типа дна лодок ПВХ — НДНД, аирдек и жёсткий пайол. Сравниваем по жёсткости, весу, комфорту и цене, чтобы вы выбрали идеальный вариант для рыбалки, охоты или отдыха.

1 мин.
Гайды и подбор

Что проверяет ГИМС при остановке на воде — памятка судоводителю

Остановка инспектором ГИМС — стандартная процедура, а не повод для паники. Разбираем, что имеет право проверять инспектор, какие документы и снаряжение должны быть на борту и какие штрафы грозят за нарушения.

1 мин.
Гайды и подбор

Правильная установка лодочного мотора на транец: высота, угол, регулировка

Как правильно установить подвесной мотор на транец ПВХ-лодки или катера: высота антикавитационной плиты, регулировка трима, центровка, страховочный трос и проверка на воде.

1 мин.
Связаться с нами