ШАРНИРНЫЙ КРОНШТЕЙН И РЫЧАГ РУЛЕВОГО МЕХАНИЗМА — [0T178500 THRU 0T598999] - USA — купить в Victory Marine
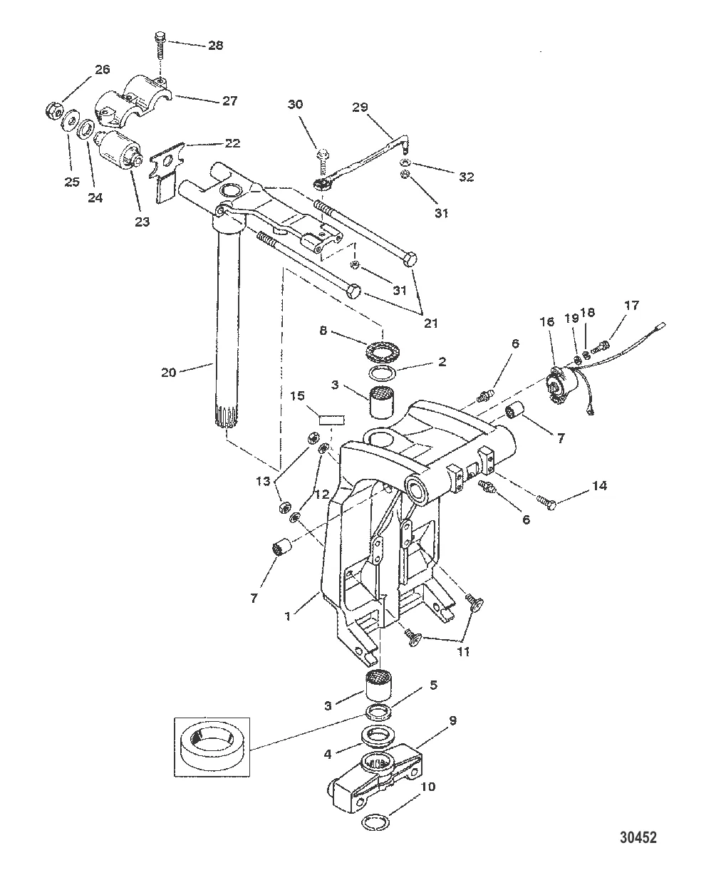
ШАРНИРНЫЙ КРОНШТЕЙН И РЫЧАГ РУЛЕВОГО МЕХАНИЗМА
2
3
4
5
6
7
8
9
10
11
12
13
14
15
17
18
19
21
22
23
24
25
26
27
28
29
30

ШАРНИРНЫЙ КРОНШТЕЙН И РЫЧАГ РУЛЕВОГО МЕХАНИЗМА

276 609 ₽

Уточняйте

3 . Втулка 818764

67669 → 818764

4 478 ₽

1 803 ₽

4 883 ₽

Уточняйте

1 139 ₽

884 ₽

44 260 ₽

83 180 ₽

561 ₽

1 623 ₽

258 ₽

571 ₽

203 ₽

Уточняйте

16 . Датчик усилителя дифферента 8M0074846

821180A6 → 821180A3 → 95164A9 → 95164A4 → 8M0074846

5 144 ₽

239 ₽

18 . Шайба 26996

20040 → 26996

140 ₽

228 ₽

Уточняйте

128 040 ₽

21 . винт Mercury 8M0141069

8M0000517 → 8M0141069

1 872 ₽

22 . УПОР Mercury 824998001

824998 → 824998001

1 929 ₽

12 329 ₽

24 . ШАЙБА Mercury 8154371

815437 → 8154371

628 ₽

943 ₽

26 . ГАЙКА (M12) Mercury 896963

859129 → 90099 → 400647 → 896963

721 ₽

27 . ЗАЖИМ Mercury 8M0036783

813769 → 8M0036783

7 457 ₽

540 ₽

16 472 ₽

2 549 ₽

31 . ГАЙКА (0.375-24), латунь Mercury 8M0042636

826709113 → 34863 → 20509 → 8M0042636

Уточняйте

75 ₽

Полезные статьи

Все статьи →
Связаться с нами