ШАРНИРНЫЙ КРОНШТЕЙН И РЫЧАГ РУЛЕВОГО МЕХАНИЗМА — [0D082000 THRU 0G303045] - USA — купить в Victory Marine
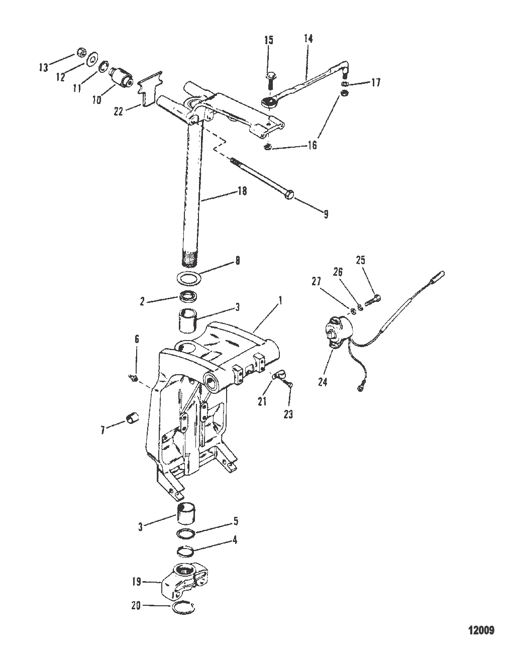
ШАРНИРНЫЙ КРОНШТЕЙН И РЫЧАГ РУЛЕВОГО МЕХАНИЗМА
2
3
4
5
6
7
8
9
10
11
12
14
15
19
20
21
22
23
25
26
27

ШАРНИРНЫЙ КРОНШТЕЙН И РЫЧАГ РУЛЕВОГО МЕХАНИЗМА

276 609 ₽

109 511 ₽

Уточняйте

4 883 ₽

3 . Втулка 818764

67669 → 818764

4 478 ₽

1 803 ₽

Уточняйте

Уточняйте

1 139 ₽

884 ₽

9 . SCREW 8M0176309

8M0000491 → 8M0176309

1 547 ₽

26 246 ₽

10 . КРЕПЛЕНИЕ Mercury 78687T

78687 → 67209 → 78687T

5 852 ₽

741 ₽

236 ₽

900 ₽

16 472 ₽

2 549 ₽

16 . ГАЙКА (0.375-24), латунь Mercury 8M0042636

826709113 → 34863 → 20509 → 8M0042636

Уточняйте

300 ₽

Уточняйте

Уточняйте

561 ₽

544 ₽

1 978 ₽

203 ₽

24 . Датчик усилителя дифферента 8M0074846

821180A6 → 821180A3 → 95164A9 → 95164A4 → 8M0074846

5 144 ₽

239 ₽

26 . Шайба 26996

20040 → 26996

140 ₽

228 ₽

Полезные статьи

Все статьи →
Связаться с нами