ШАРНИРНЫЙ КРОНШТЕЙН И РЫЧАГ РУЛЕВОГО МЕХАНИЗМА — [0D283222 THRU 0G760299] - USA — купить в Victory Marine
ШАРНИРНЫЙ КРОНШТЕЙН И РЫЧАГ РУЛЕВОГО МЕХАНИЗМА
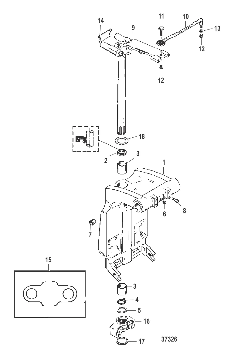
1
2
3
4
5
6
7
8
9
10
11
14
15
17
18

ШАРНИРНЫЙ КРОНШТЕЙН И РЫЧАГ РУЛЕВОГО МЕХАНИЗМА

97 688 ₽

1 . BRKT ASY-STEEL/GR Mercury 818904T4

818904A4 → 818904A3 → 818904T4

108 413 ₽

Уточняйте

4 883 ₽

3 . Втулка 818764

67669 → 818764

4 478 ₽

Уточняйте

1 803 ₽

Уточняйте

1 139 ₽

203 ₽

9 . ORD 99661A35 Mercury 99661A36

99661A27 → 99661A22 → 99661A11 → 99661A36

33 358 ₽

94 971 ₽

16 472 ₽

2 549 ₽

12 . ГАЙКА (0.375-24), латунь Mercury 8M0042636

826709113 → 34863 → 20509 → 8M0042636

Уточняйте

300 ₽

1 978 ₽

2 876 ₽

29 746 ₽

16 . ORD 42961A06 Mercury 42961T2

42961A2 → 42961A3 → 42961T2

4 070 ₽

Уточняйте

561 ₽

884 ₽

Полезные статьи

Все статьи →
Обслуживание и ремонт

Белый, синий, чёрный дым из лодочного мотора — о чём говорит цвет выхлопа

Цвет дыма из выхлопа лодочного мотора — первый диагностический сигнал о проблеме. Разбираем, что означает белый, синий и чёрный дым, чем отличается норма от неисправности, и как ведут себя двух- и четырёхтактные моторы.

1 мин.
Гайды и подбор

Отводной поводок, дроп-шот и каролина — разнесённые оснастки

Разнесённые оснастки — секретное оружие спиннингиста, когда рыба капризничает. Подробно разбираем отводной поводок, дроп-шот и каролинскую оснастку: монтажи, техника, ошибки.

1 мин.
Обслуживание и ремонт

Как правильно обкатать новый лодочный мотор Mercury

Пошаговая программа обкатки четырёхтактных и двухтактных Mercury. Разрушаем мифы, объясняем зачем нужна обкатка и что будет если её пропустить.

1 мин.
Связаться с нами